外れ止め付ラッチロックフック

ホイスト

業務機器&資材 シロ産業 HOME
新製品情報 在庫処分情報 会社概要
見積依頼 ご注文フォーム お問い合わせ
業務用機材商社一筋で、創業41年。東大阪市商工会議所会員、2005年度IT百選企業。
国公立大学、研究所、自衛隊、警察庁 など主な国公立機関に納入実績多数。医療機器販売業免許取得済

包装資材 包装機械 物流機器 測定機器 洗剤 ケミカル 蛍光灯 季節品-夏 季節品-冬 弱電工具 ホイスト 環境機器 掃除機 ムーブテック 切削工具 機械工具調理厨房機器 研究室用品 安全防犯防災品 エクステリア 新商品 在庫処分


カテゴリー第二分類(ホイスト)
ホイストカテゴリー一覧を見る

関連商品一覧

外れ止め付ラッチロックフック/ 品番 M502FB-09N 【詳細表示】
商品番号 M502FB-09N 価 格
外れ止め付ラッチロックフック/M502FB-09N 外れ止め付ラッチロックフック
品番 M502FB-09N
価格は下記をご覧ください
ラッチロックフック
★ 外れ止め付
基本使用荷重:0.9・1.6・2.6・4.3・6.5・10.2・12.6 ton
外れ止め付ラッチロックフック/M502FB-09N

■特 長
●ラッチ式の外れ止め装置付
●荷重が掛かった状態では口が開かない安全設計

■用途
●玉掛け作業全般

■使用上の注意
●外れ止め装置の壊れている物は使用しないでください。
●本体の変形している物は使用しないでください。

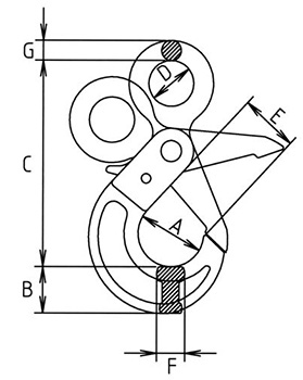
■仕様

品番 基本使用荷重
(ton)
主寸法(mm) 自重
(kg)
A B C D E F G
M502FB-09N 0.9 35 24 109 23 30 15 10 0.5
M502FB-16N 1.6 45 26 134 29 37 18 15 0.8
M502FB-26N 2.6 54 34 166 35 44 26 16 1.5
M502FB-43N 4.3 70 44 200 46 50 34 20 3.2
M502FB-65N 6.5 87 48 250 58 66 37 27 5.9
M502FB-102N 10.2 100 50 272 64 78 38 27 7.6
M502FB-126N 12.6 112 63 315 70 94 49 36 13.8

運賃、および消費税は、記載価格には、含まれていません。

[トップページに戻る] [注文書] [見積り依頼] TEL 0729-64-8663 FAX 0729-61-4874

営業時間 AM9:00~PM7:00 営業日 月曜日~金曜日 定休日 土曜日 日曜日 祝日