エアー駆動卓上縦型袋開口機(袋幅110~200mm 袋長205~300mm)

その他包装機械

業務機器&資材 シロ産業 HOME
新製品情報 在庫処分情報 会社概要
見積依頼 ご注文フォーム お問い合わせ
業務用機材商社一筋で、創業41年。東大阪市商工会議所会員、2005年度IT百選企業。
国公立大学、研究所、自衛隊、警察庁 など主な国公立機関に納入実績多数。医療機器販売業免許取得済

包装資材 包装機械 物流機器 測定機器 洗剤 ケミカル 蛍光灯 季節品-夏 季節品-冬 弱電工具 ホイスト 環境機器 掃除機 ムーブテック 切削工具 機械工具調理厨房機器 研究室用品 安全防犯防災品 エクステリア 新商品 在庫処分


カテゴリー第二分類(包装機械)
包装機械カテゴリー一覧を見る

関連商品一覧

エアー駆動卓上縦型袋開口機(袋幅110~200mm 袋長205~300mm)/品番 M4194AT-2030B 【詳細表示】
商品番号 M4194AT-2030B 価 格
エアー駆動卓上縦型袋開口機(袋幅110~200mm 袋長205~300mm)/M4194AT-2030B エアー駆動卓上縦型袋開口機(袋幅110~200mm 袋長205~300mm)
品番 M4194AT-2030B
袋詰め作業を簡単に!省スペース・低コストで作業性UP!
お菓子、パン、青果、工業製品など、袋に入れる物なら何にでもお使いいただけます。





■こんなお困りごとはありませんか?
袋が薄く開けづらいので、袋詰め作業に時間がかかっている・・・
商品の汁液が手についてしまい、袋詰め時に袋を汚してしまう・・・
そんなお悩みを解決します!

■特徴
●袋に入れる物なら何にでもお使い頂けます。
●袋に触れずに開口できるので、手についた汁液で服を汚しません。
●袋サイズに合わせて動かせるガイド付きなので、汎用性があります。
●シンプルな機構で操作が簡単なので作業の均一化が図れます。
●軽量なので移動もラクラク。小さいので邪魔になりません
●入れる物によってカスタマイズも可能
●電源不要。圧縮エアーのみで動きます。


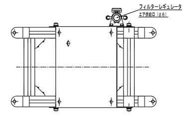
■全体図




■仕様
品番 M4194AT-2030B
袋幅 110~200mm
袋長さ 205~300mm
セット枚数 30~60枚(厚みによる)
参考能力 10~15個/分前後(作業者能力による)
外寸 412(L)×225(W)×525(H)
重量 9.5kg
材質 スチール&ステンレス
動力源 圧縮空気のみ

運賃、および消費税は、記載価格には、含まれていません。

[トップページに戻る] [注文書] [見積り依頼] TEL 0729-64-8663 FAX 0729-61-4874

営業時間 AM9:00~PM7:00 営業日 月曜日~金曜日 定休日 土曜日 日曜日 祝日