エアー式ペール缶付掃除機

エアー式掃除機

業務機器&資材 シロ産業 HOME
新製品情報 在庫処分情報 会社概要
見積依頼 ご注文フォーム お問い合わせ
業務用機材商社一筋で、創業41年。東大阪市商工会議所会員、2005年度IT百選企業。
国公立大学、研究所、自衛隊、警察庁 など主な国公立機関に納入実績多数。医療機器販売業免許取得済

包装資材 包装機械 物流機器 測定機器 洗剤 ケミカル 蛍光灯 季節品-夏 季節品-冬 弱電工具 ホイスト 環境機器 掃除機 ムーブテック 切削工具 機械工具調理厨房機器 研究室用品 安全防犯防災品 エクステリア 新商品 在庫処分


カテゴリー第二分類(掃除機)
掃除機カテゴリー一覧を見る

関連商品一覧

エアー式ペール缶付掃除機/品番 M515C20-32S 【詳細表示】
商品番号 M515C20-32S 価 格
エアー式ペール缶付掃除機
品番 M515C20-32S
価格は下記をご覧ください。
●駆動源の圧縮空気(コンプレッサーエアー)で、吸い込みが出来ます。
●従来の工業用クリーナーでは不充分な水、油、へドロ、穀物、小砂利、金属片等を強力に回収。あらゆる職場に大活躍。
●2段階構造・多重フィルター。長時間の連続使用OK。
●強い吸引力、消音型の万能クリーナー。
●20Lタンク付
※ペール缶なしはこちら→M515C20-32PS
※強力タイプはこちら→M515C20-32GS



■特長
●ジェットエジェクター
吸引力を生み出す装置でサイレントクリーナーの心臓部です。
回転部分がない為故障の心配はありません。
抜群の性能を誇り、さまざまな分野で活躍するワンダーガンシステムを採用。

●サイレンサー
排気音は58dB~60dB(0.5MPa・5kg/cm2時JIS1m)と非常に静かです。
クリーナー使用中の大声はもう必要としません。使用中でも静かに対話出来ます。

●セフティバルブ
使用中にエアー圧力の急上昇やホース口の閉塞などで、ドラム缶内部の真空度が異常に上昇しても、セフティバルブが働き、各装置やドラム缶が破損せず、安全に作業出来ます。

●インナーフィルター
フィルターは集塵用・粉塵用の2タイプがございます。
集塵用・・・グラスウール製のフィルターが1つ装備されています。液体や固体の回収に使用できます。
粉塵用・・・グラスウール製のフィルターと布製のカバーの二重フィルターになります。紛体の回収に使用できます。

■性能表


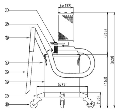
■部品名


■仕様


品番 M515C20-32S M515C20-32S-WF
タイプ 集塵用 粉塵用
使用Oリング NBR
使用エアー圧 0.5~0.6MPa (5~6kg/cm2
吸引力 -0.0283~-0.0333MPa
(2,828~3,332mmAq)
排気音 0.5MPa (5kg/cm2)時(JIS・1m) 60dB
エアー消費量 369~430L/min Normal
サイズ (高さ)830×(幅)450mm
吸込ノズル 外径32mm×長さ400mm
耐油ホース 内径32mm×長さ2000mm
重量 10kg
材質 1 圧縮エアー取付口 3/8ボールバルブ+エアカプラ30PMタイプ
2 クリーナー本体 アルミ合金鋳物・メラミン樹脂焼付塗装
3 耐油ホース 透明塩ビ樹脂
4 ワンタッチ金具 鉄(クロームメッキ) リベット(アルミ)
5 吸込みノズル 塩ビ樹脂
6 使用タンク 鉄、表面焼付塗装
7 キャスター台 アルミ合金鋳物・メラミン樹脂焼付塗装
8 キャスター 導電キャスター×4個(内1個はブレーキ付)
付属品 20Lタンク、キャスター付き



■別売品
M515C20-FILTER M515C20-HAIDOROSTOPPA 
粉塵吸込みの際は、
必ず粉塵フィルターをご使用下さい
液体を吸込中に一定量になると
吸込を自動的に中止する装置。


品  番 品  名
M515C20-FILTER 粉塵フィルターセット
M515C20-FLOORBRUSH 床ブラシφ32・38用
M515C20-HAIDOROSTOPPA ハイドロストッパー
M515C20-MARU-BRUSH 丸ブラシφ32用
M515C20-OPENINGNOZZLE 隙間ノズルφ32用

運賃、および消費税は、記載価格には、含まれていません。

[トップページに戻る] [注文書] [見積り依頼] TEL 0729-64-8663 FAX 0729-61-4874

営業時間 AM9:00~PM7:00 営業日 月曜日~金曜日 定休日 土曜日 日曜日 祝日