充電式ハンディー刻印機

プリンター

業務機器&資材 シロ産業 HOME
新製品情報 在庫処分情報 会社概要
見積依頼 ご注文フォーム お問い合わせ
業務用機材商社一筋で、創業41年。東大阪市商工会議所会員、2005年度IT百選企業。
国公立大学、研究所、自衛隊、警察庁 など主な国公立機関に納入実績多数。医療機器販売業免許取得済

包装資材 包装機械 物流機器 測定機器 洗剤 ケミカル 蛍光灯 季節品-夏 季節品-冬 弱電工具 ホイスト 環境機器 掃除機 ムーブテック 切削工具 機械工具調理厨房機器 研究室用品 安全防犯防災品 エクステリア 新商品 在庫処分


カテゴリー第二分類(包装機械)
包装機械カテゴリー一覧を見る

関連商品一覧



充電式ハンディー刻印機/品番 M1384P-1515Y 【詳細表示】
商品番号 M1384P-1515Y 価 格
充電式ハンディー刻印機/M1384P-1515Y 充電式ハンディー刻印機
品番 M1384P-1515Y
価格は下記をご覧ください。
M1384P-1515Yはデジタル手打刻印です。
バッテリーを使用した完全コードレスを実現、ハンマーを打つ作業から解放されます。
より安全で安定した綺麗な文字が打刻可能です。

充電式ハンディー刻印機/M1384P-1515Y

■特長
●15×15mmのコンパクトな打刻エリアが特徴です。

●通信方式:WiFi、USB
スマートフォンやタブレットに専用アプリをダウンロードすればWiFiに接続するだけ。

●アプリケーション:iOS、Android、Windows

●マーキングエリア:X軸15mm×Y軸15mm

●文字高さ15mmまで

●電源
リチウムイオンバッテリー(ACアダプター付き)


●ソフトウェア
<スマートフォンアプリ>
アプリをPlay storeやApp storeからダウンロードするだけ。スマートフォン端末から刻印機のWi-Fi SSIDを探してください。そのまま画面通りに進めば、誰でも簡単に打刻作業が始められます。

<Windソフトウェア>
本体購入後、メーカーHPにて無償ダウンロード可能。
より高度な打刻を行うなら、Windows用ソフトウェアが一番です。複数行の打刻やロゴマーク、2Dコード、シリアルナンバーなど多彩な機能をご用意しています。また、スマートフォン端末から呼び出し可能なデータを255ファイルまで刻印機に保存・編集ができますので、PCを現場に持ち運ぶ必要もありません。


■刻印サンプル
熱処理剤(HRC62)への打刻 塗装後の部材への打刻 メッキ後の部材への打刻

■使用例


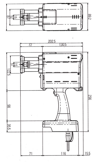
■外観図
バッテリー仕様 ACアダプタ仕様
※バッテリーについては、バッテリーメーカーの都合により仕様が変更されることがありますのでご了承ください。


■仕様
電源 ACアダプター AC100V~240V, 50/60Hz (120W)
リチウムイオンバッテリー 25.2V、2.0Ah
バッテリーチャージャー AC100V~240V, 50/60Hz
重量 ACアダプター 1.4kg
バッテリー(2Ah) 2kg
外形寸法 ACアダプター 89.2mm x 202.5mm x 256mm
バッテリー(2Ah) 89.2mm x 202.5mm x 304.9mm
マーキングエリア 15mm×15mm
打刻可能ワーク材 金属(HRC62程度まで)、プラスチック、紙、木材
カバー素材 ポリカーボネート
ソフトウェア
の種類
App Wi-Fi
ソフトウェア Wi-Fi、USB
テキストの種類 アルファベット、数字、各種記号
標準フォント PMフォント、5×7フォント
※ソフトウェアで選択可能です。
文字列マーキング 自動分割機能
(15mm以上のマーキング)
複数ライン
マーキング
App 1行のみ
ソフトウェア 最大30フィールドの複数ライン設定可能
文字高さ App S、M、Lから選択
※1~15mm、0.5mmピッチ。
ソフトウェア 0.1mmピッチで1mm~15mmの間で選択可能。
打刻力 App 弱、中、強から選択できます。
※アプリ内設定メニューで0~9(強)の値を指定できます。
ソフトウェア 0~9(強)の値を入力できます。
フォント品質 App 低、中、高から選択できます。
※初期設定メニューで1~9(高)の値を指定可能です。
ソフトウェア 1~9(高)の値を入力します。
ロゴ ソフトウェア BMP、JPGデータ、ロゴ編集機能で読み出しトレースできます。
DXFデータ自動変換 ※PC接続時のみ
2Dコード ソフトウェア QRコード(英数字・記号80文字以内)
データマトリックス(最大80文字の英数字および記号)
シリアルナンバー ソフトウェア 1~9999の範囲で設定可能。
自動日付打刻 ソフトウェア 年、月、日、時間、分、秒、ジュリアンデート、シフト
ファイル Patmark本体メモリに255ファイル、スマートフォン、
タブレット端末にもファイル保存可能。
※バッテリーについては、バッテリーメーカーの都合により仕様が変更されることがありますのでご了承ください。

品番 電源タイプ カラー
M1384P-1515Y 電池パックセット オレンジブック
M1384P-1515B ブラック
M1384P-1515Y-AC ACアダプターセット オレンジブック
M1384P-1515B-AC ブラック



運賃、および消費税は、記載価格には、含まれていません。

[トップページに戻る] [注文書] [見積り依頼] TEL 0729-64-8663 FAX 0729-61-4874

営業時間 AM9:00~PM7:00 営業日 月曜日~金曜日 定休日 土曜日 日曜日 祝日