チェンブロック充電ドライバー連結式

チェーンブロック

業務機器&資材 シロ産業 HOME
新製品情報 在庫処分情報 会社概要
見積依頼 ご注文フォーム お問い合わせ
業務用機材商社一筋で、創業41年。東大阪市商工会議所会員、2005年度IT百選企業。
国公立大学、研究所、自衛隊、警察庁 など主な国公立機関に納入実績多数。医療機器販売業免許取得済

包装資材 包装機械 物流機器 測定機器 洗剤 ケミカル 蛍光灯 季節品-夏 季節品-冬 弱電工具 ホイスト 環境機器 掃除機 ムーブテック 切削工具 機械工具調理厨房機器 研究室用品 安全防犯防災品 エクステリア 新商品 在庫処分


カテゴリー第二分類(ホイスト)
ホイストカテゴリー一覧を見る

関連商品一覧

チェンブロック充電ドライバー連結式/ 品番 M73HMF-125Z 【詳細表示】
商品番号 M73HMF-125Z 価 格
チェンブロック充電ドライバー連結式M73HMF-125Z 付属のハンドルや充電式電動ドライバーをつなぐだけで、遠隔操作による電動の巻上げ・巻下げ作業が手軽に行えます。

※電動ドライバーはお客様でご用意ください。

チェンブロック充電ドライバー連結式
品番 M73HMF-125Z
価格は下記をご覧ください。

■特長
専用パワーシャフト(1.5m)に充電式電動ドライバーをつなぐだけで、遠隔操作による電動の巻上げ・巻下げ作業が手軽に行えます。
ハンドチェーンを使わず、遠隔操作が行えますので、狭小や低空頭な場所でも、スムーズな作業が行えます。電動ドライバーをご使用にならない場合は、手動ハンドルによる駆動でもご使用いただけます。また、パワーシャフトを介さず電動ドライバーを使って、本体に直接入力させることもできます。380kgのみロングライフチェーンを使用しています。

■タイプ


■4種類の駆動方式


■仕様
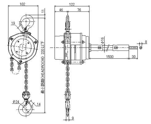
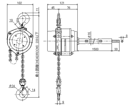
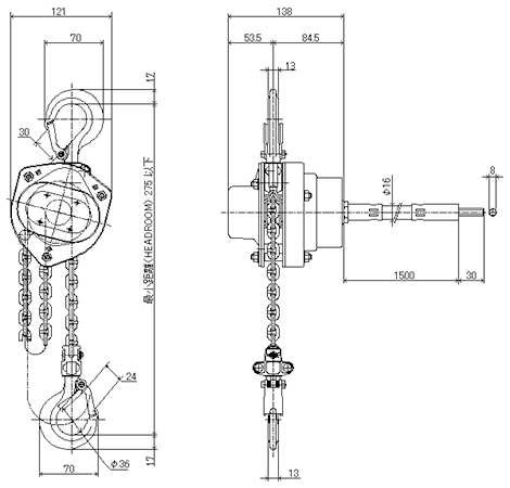
品番 M73HMF-125Z M73HMF-20Z M73HMF-38Z
充電式電動ドライバーの種類 12V以上 16.5V以上
パワーシャフト
使用時
定格荷重(kg) 125 200 380
巻上速度(m/min) 3 1.8 1.7
直結使用時 定格荷重(kg) 125 200 380
巻上速度(m/min) 3 1.8 1.7
標準揚程(m) 5 5 5
試験荷重 125%
フック間最小距離(mm) 220 275
パワーシャフトの長さ(mm) 1.5
ロードチェーン(mm)
(線径×ピッチ)
3.1×9.3 4.3×12
自重(kg)
(パワーシャフト使用時)
4 3.9 5.5
注1)標準品は、パワーシャフト(1.5m)・ロードチェーン(標準5m)とビット(ビット軸受)・ハンドル付です。又、本体・パワーシャフト・ビット(ビット軸受)及びハンドルだけの要望にも応じます。
注2)パワーシャフト使用時及び直結使用時の巻上速度は、電動ドライバーが1,300回転(毎分時の概算速度です。
注3)M73HMF-38Z(定格荷重380kg)タイプには、15.6V用充電式電動ドライバーを必ずご使用下さい。
注4)電動式インパクトドライバー及びエア式インパクトドライバーは使用出来ません。
注5)パワーシャフト2.5m仕様(オプション)もご用意しています。


■寸法図
M73HMF-125Z
M73HMF-20Z
M73HMF-38Z

運賃、および消費税は、記載価格には、含まれていません。

[トップページに戻る] [注文書] [見積り依頼] TEL 0729-64-8663 FAX 0729-61-4874

営業時間 AM9:00~PM7:00 営業日 月曜日~金曜日 定休日 土曜日 日曜日 祝日