狭口ボトル洗浄機

洗浄機

業務機器&資材 シロ産業 HOME
新製品情報 在庫処分情報 会社概要
見積依頼 ご注文フォーム お問い合わせ
業務用機材商社一筋で、創業41年。東大阪市商工会議所会員、2005年度IT百選企業。
国公立大学、研究所、自衛隊、警察庁 など主な国公立機関に納入実績多数。医療機器販売業免許取得済

包装資材 包装機械 物流機器 測定機器 洗剤 ケミカル 蛍光灯 季節品-夏 季節品-冬 弱電工具 ホイスト 環境機器 掃除機 ムーブテック 切削工具 機械工具調理厨房機器 研究室用品 安全防犯防災品 エクステリア 新商品 在庫処分


カテゴリー第二分類(掃除機)
掃除機カテゴリー一覧を見る

関連商品一覧

狭口ボトル洗浄機 品番 ME22NB-3WA 【詳細表示】
商品番号 ME22NB-3WA 価 格
狭口ボトル洗浄機/ME22NB-3WA 狭口ボトル洗浄機
品番 ME22NB-3WA
一般的なシンクで使用できるコンパクトなボトル簡易洗浄台です。
口が狭く洗いにくいものも、逆さにセットするだけで洗浄できます。



●ポンプ等の装置を使用せず、洗浄台を蛇口と接続するだけで洗浄できます。
●ボトル洗浄作業の簡易化・労力削減に最適です。
●電気を使用しないので、水回りでも安全に使用できます。
●スペーサーの向きを変更し、幅広い口径に使用できます。
●口径φ20~134mmなら、弊社のステンレスボトル以外(ビンやカン)も洗浄できます。
●スプレーノズルは均等・円形に噴射し、汚れに水を当てることができます。
●端部にはカバーをはめ込んでおり、シンクを傷付けません。
●台は錆に強いステンレス製です。


■もうボトルを振って洗浄する必要はありません
重たいステンレス製ボトルも、逆さまにセットするだけで簡易洗浄ができます。





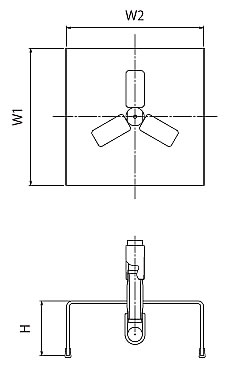
■寸法参考図



■仕様 (mm)
品番 ME22NB-3WA
幅(W1) 150
幅(W2) 150
高さ(H) 60
ホース接続部 φ11
使用可能なボトル径 φ20~134
本体 SUS304
洗浄ノズル SUS303
スペーサー POM
端部カバー EPDM
長さの単位は(mm)

※注意事項
・ホース・ホースバンドは付属しません。
・水が出ている間は必ずボトルを押さえてください。
・ボトルをセットしない状態で水を出さないでください。
・スペーサーを使用し、ボトルから水が抜ける状態で使用してください。

運賃、および消費税は、記載価格には、含まれていません。

[トップページに戻る] [注文書] [見積り依頼] TEL 0729-64-8663 FAX 0729-61-4874

営業時間 AM9:00~PM7:00 営業日 月曜日~金曜日 定休日 土曜日 日曜日 祝日