|
|
│作業台
│台車
│手動リフター
│電動リフター
│油圧ハンドリフター
│ステンレス作業台
│プレス製台車
│油圧リフター
│電動テーブルリフト │
│作業用イス(オフィスチェア)
│鉄板台車
│コゾウリフター
│ハンドパレット
│台車リフト
│ステンレス台車
│パレット台車
│安全用品 │
│電動台車
│マルチキャリー
│ドラム缶運搬車
│ワゴン
│パレット
│平台車
│二輪車
│ガスボンベドラム缶運搬車 │
│アルミ運搬車
│ホワイトラスティー
│棚
│ボックスパレット
│コンテナ
│マワール
│ベルト荷締機
│高所作業用品 │
│ピッキングカー
│コンテナ台車
│タンク
│キャスター
│電動階段運搬車
│ゴミ箱
│コンベア
│ステンレス機器
│保管庫
│作業マット│
│集塵機
│傘立て
│ドラムポンプケミカルポンプ
│農業関連物流機器
│保冷庫
│その他の物流機器
│中古物流機器│
≪物流機器メインページ≫
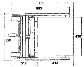
| アルミ製ポータブルハイリフト/品番 SLL-5.5 詳細図面 | |
単位(mm)
|
運賃、および消費税は、記載価格には、含まれていません。
