電線ケーブルカバーマット(スリム収納タイプ)

その他の物流機器

業務機器&資材 シロ産業 HOME
新製品情報 在庫処分情報 会社概要
見積依頼 ご注文フォーム お問い合わせ
業務用機材商社一筋で、創業41年。東大阪市商工会議所会員、2005年度IT百選企業。
国公立大学、研究所、自衛隊、警察庁 など主な国公立機関に納入実績多数。医療機器販売業免許取得済

包装資材 包装機械 物流機器 測定機器 洗剤 ケミカル 蛍光灯 季節品-夏 季節品-冬 弱電工具 ホイスト 環境機器 掃除機 ムーブテック 切削工具 機械工具調理厨房機器 研究室用品 安全防犯防災品 エクステリア 新商品 在庫処分


カテゴリー第二分類(物流機器)
物流機器カテゴリー一覧を見る
作業台軽量作業台中量作業台重量作業台昇降式作業台ステンレス作業台台車軽量台車樹脂台車レベラー台車ストッパー付台車静音台車折りたたみ台車プレス製台車網カゴ台車長尺台車/長物台車鉄板台車二段台車三段台車一輪車二輪車アルミ製二輪/三輪運搬車ガスボンベ運搬車ドラム缶運搬車ステンレス台車アルミ台車パレット台車コンテナ台車電動台車牽引車平台車アルミ製運搬車エンジンクローラー運搬車マルチキャリー電動階段運搬車リヤカーアルミリヤカーピッキングカー手動リフターエアーリフト電動フォークリフト電動リフター電動テーブルリフト手動テーブルリフト手動油圧リフター油圧リフター油圧ハンドリフターコゾウリフターハンドパレット台車リフトステンレスリフターステンレス台車リフトエアコン室外機リフター集塵機一斗缶ペール缶ドラム缶反転リフトボンベスタンド一斗缶・ペール缶スタンドドラム缶ヒーター一斗缶ペール缶ドラム缶給油コックドラム缶液面計・残量ゲージ攪拌混合機ワゴンステンレスワゴンショッピングカートショッピングバスケットホワイトラスティースリムカートステンレス棚パレットプラスチックパレット再生エコパレット樹脂パレットアルミパレット輸出用パレットネスティングパレットラックボックスパレットパレットカバータンクポリエチレン製タンクステンレスタンク雨水タンクFRPタンク耐熱タンク貯水タンクドラム缶ドラムポンプ/ケミカルポンプコンテナ防水コンテナアルミコンテナ樹脂コンテナ折り畳み式コンテナマワールターンテーブルベルト荷締機高所作業用品脚立・はしご・踏み台安全用品作業用イス(オフィスチェア)クリーンルーム用チェア導電作業椅子・導電チェアライン引きラインテープキャスターゴミ箱分別ゴミ箱ステンレスゴミ箱防犯対策用窓付ゴミ箱傘立てコンベアステンレス機器テント/シート/網/カーテン油圧ジャッキエアー搬送機器保管庫ステンレス保管庫PCB廃棄物保管庫保冷庫/保温庫作業マット/フロアマット農業関連物流機器その他の物流機器中古物流機器

関連商品一覧

電線ケーブルカバーマット(スリム収納タイプ)/品番 M2925S-3PROK 【詳細表示】
商品番号 M2925S-3PROK 価 格
電線ケーブルカバーマット(スリム収納タイプ)/M2925S-3PROK 電線ケーブルカバーマット(スリム収納タイプ)
品番 M2925S-3PROK
価格は下記をご覧ください
大型トラックが載っても大丈夫
超軽量化と耐久性アップの両立を実現
世界のケーブルプロテクター
日本でも公共工事や自衛隊が採用の耐久力と性能
世界のオリンピック会場や準備工事でも大活躍
高密度ポリウレタンバージン材、採用による高品質


■用途
●建設敷地内 ●仮設道路 ●仮設事務所まわり ●発電機まわり ●リフォーム敷地内
●電気工事 ●通信工事 ●工事敷地内 など
●フェスティバル会場 ●野外コンサート会場 ●展示会場 ●放送や映画ロケ現場 
●野外パーティー会場 ●お祭り など


■実績
●ゼネコン ●電力会社 ●通信事業者 ●レンタル会社 ●自衛隊など
●テレビ局 ●イベント会社 ●スタジアム ●イベントレンタル会社 など


■メリットは・・・
材質に最高品質の高密度ポリウレタン バージン材を採用しており、多くのメリットがあります。
軽量、長い寿命、高い耐久性、ゴム臭なし、広い対応温度(-40度~+65度)


■保護するケーブルの太さで選ぶ
 



■使用例
   


■タイプ
M2925S-3PROK M2925S-2REDK
 
M2925M-3M2925ROK
 
M2925W-3M2925ROK M2925W-2REDK
 
M2925G-3M2925ROK M2925G-2REDK


■バリアフリー・スロープ(外付け)/品番 M2925X-1K
どこでもケーブルに装着して、スロープ部分の傾斜を緩くするアクセサリーです。
とても緩やかな傾斜になるので、車イス、自転車、荷物を運ぶカートもスムーズに通行できます。
載せるだけで簡単に装着できます。なお、車両の通行には対応しております。
 



■コネクト2センター/品番 M2925W-5CONCK
■コネクト2スロープ/品番 M2925W-5CONSK
■コネクト2バリアフリースロープ/品番 M2925W-5CONS-BFK

5本を超えるケーブルを収納できます。
スロープ部分がセンターから分離しているので、センターとセンターを直接連結して収納ケーブルを増やすことができます。
コネクタ2センターとコネクト2スロープはそれぞれ単体のお取り扱いです。
たとえば10本までのケーブルを収納する場合は、コネクト2センター2本とコネクト2スロープ2本を組み合わせてください。
縦方向にも連結できますので、必要な長さのケーブルを保護できます。





■仕様
品番 M2925S-3PROK M2925S-2REDK M2925S-1K
タイプ スリム収納タイプ
本体サイズ
(長・幅・高)
1000×250×45mm
溝数 2
溝サイズ(幅・高) 30×35ミリ
重量 4.8kg 7.5kg
対応車両 50トン車 25トン車
対応温度 -40度~+65度 -20度~+55度
色(本体/蓋) 黒/黄 赤/黄 黒/黄
材質 高密度ポリウレタン バージン材 (蓋PVC) ラバー
(蓋PVC)

※寸法表示には若干の誤差がある場合があります。


品番 M2925S-1K
タイプ ミディアム収納タイプ
本体サイズ
(長・幅・高)
900×300×45mm
溝数 3
溝サイズ(幅・高) 30×35ミリ
重量 5.5kg
対応車両 50トン車
対応温度 -40度~+65度
色(本体/蓋) 黒/黄
材質 高密度ポリウレタン バージン材
(蓋PVC)

※寸法表示には若干の誤差がある場合があります。

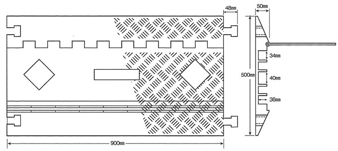
品番 M2925M-3M2925ROK M2925W-3M2925ROK M2925W-2REDK
タイプ ワイド収納タイプ
本体サイズ
(長・幅・高)
900×500×50mm
溝数 5
溝サイズ(幅・高) 34×36ミリ
重量 9.8kg 15.5kg
対応車両 50トン車 25トン車
対応温度 -40度~+65度 -20度~+55度
色(本体/蓋) 黒/黄 赤/黄 黒/黄
材質 高密度ポリウレタン バージン材 (蓋PVC) ラバー
(蓋PVC)



※寸法表示には若干の誤差がある場合があります。


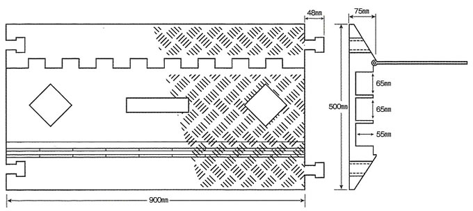
品番 M2925G-3M2925ROK M2925G-2REDK M2925G-1K
タイプ 極太収納タイプ
本体サイズ
(長・幅・高)
900×500×75mm
溝数 3
溝サイズ(幅・高) 65×55ミリ
重量 12.7kg 18.5kg
対応車両 50トン車 25トン車
対応温度 -40度~+65度 -20度~+55度
色(本体/蓋) 黒/黄 赤/黄 黒/黄
材質 高密度ポリウレタン バージン材 (蓋PVC) ラバー
(蓋PVC)



※寸法表示には若干の誤差がある場合があります。

品番 M2925X-1K
本体サイズ
(長・幅・高)
900×495×46mm
溝数 -
対応ケーブル -
重量 9.0kg
対応車両 車イス、カート
材質 ラバー
適合タイプ スリム収納タイプ
ミディアム収納タイプ
ワイド収納タイプ
備考 -

※寸法表示には若干の誤差がある場合があります。

品番 M2925W-5CONCK M2925W-5CONSK M2925W-5CONS-BFK
本体サイズ
(長・幅・高)
900×290×55mm 900×300×55mm 900×600×57mm
溝数 5 - -
対応ケーブル 最大38mm径 - -
重量 6.9kg 7.7kg 14.5kg
対応車両 25トン車 25トン車 25トン車
材質 ウレタン(蓋PVC) ラバー ラバー
適合タイプ - - -
備考 黄色い蓋のウラに、蓋を本体に固定するためのロック用ツメが備わっています。
センターは必ず両サイドにスロープを装着してお使い下さい。
片サイドのみですとロック用ツメが外れる場合があります。


※寸法表示には若干の誤差がある場合があります。

運賃、および消費税は、記載価格には、含まれていません。

[トップページに戻る] [注文書] [見積り依頼] TEL 0729-64-8663 FAX 0729-61-4874

営業時間 AM9:00~PM7:00 営業日 月曜日~金曜日 定休日 土曜日 日曜日 祝日