|
|
■包装資材 ■包装機械 ■物流機器 ■測定機器 ■洗剤 ■ケミカル ■蛍光灯 ■季節品-夏 ■季節品-冬 ■弱電工具 ■ホイスト ■環境機器 ■掃除機 ■ムーブテック ■切削工具 ■機械工具■調理厨房機器 ■研究室用品 ■安全防犯防災品 ■エクステリア ■新商品 ■在庫処分
| ラッシングベルト トラックレールタイプ青 1ton 幅50mm×長さ1+3m/品番 M3579BA-50RH1000-5-3M | 【詳細表示】 | |||||||||||||
| 商品番号 | M3579BA-50RH1000-5-3M | 価 格 | ||||||||||||
![]() |
ラッシングベルト トラックレールタイプ青 1ton 幅50mm×長さ1+3m 品番 M3579BA-50RH1000-5-3M |
|||||||||||||
| ラチェット式の握り易いバックルと柔軟強度な繊維ベルトで荷に優しく簡単安全に荷締め作業ができます。 トラックの荷物運搬に!スタイリッシュなデザインに、バックルプロテクターを標準装備しました。 ![]() ●安全係数:2(使用荷重×2=破断荷重) ●ベルト材質:ポリエステル100% ●欧州CE規格+GS&TUVマーク取得商品 ●生産物賠償責任保険(PL保険)付 ![]() ※スリーブは固定側長さ0.5mには付属していません。 各種豊富なサイズを取り揃えております。ご希望のサイズでの特注制作も承ります。 ■先端金具サイズ ![]()
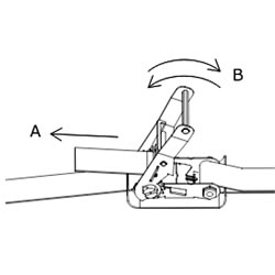
■バックルサイズ ラッシングベルト トラックレールタイプバックル/品番 M3579B-50WL1000M ※解除レバーの高さは含まない。 ![]() ■バックルプロテクター ※ラチェットバックルに付属 ![]() ■ベルト一覧 幅50mm:使用荷重:1,000kgf用 ![]() ■操作方法 ①ベルトの通し方 ベルトに縫い付けている縦ライン側を上にし、バックルプロテクターの下面からバックル本体にある巻取軸にベルトを通します。 ベルトの裏表を間違わないようご注意ください。 ![]() ②ベルトの巻き方 通したベルトを矢印Aの方向へ引っ張り、緩みをとります。 緩みをとったまま ハンドルを矢印Bの様に反復させるとベルトが徐々に締まっていきます。 ベルトは巻取軸に最低 2 巻き以上巻き取ってください。巻き足らないとベルトが緩む原因になります。 巻き取り過ぎにもご注意ください。 ベルトがほどけなくなったり、固縛したい物や本製品の損傷の原因となります。 ![]() ③ベルトの固定 巻き終わったら、ハンドル中央部の開放レバーを引いて、ハンドルを矢印の方向へ完全に倒しロックしてください。 ハンドルがロックされ動かないか確認してください。 緩みがある時は、「②ベルトの巻き方」から再度やり直して下さい。 ![]() ④ベルトの緩め方 開放レバーを引きながらハンドルを矢印の方向へ180度開くと巻取軸のロックが開放されます。 ベルトが緩むので、ベルトを引っ張りほどいてください。 ![]() ■ご使用上の注意 ●誤った操作や日頃の点検を怠れば、荷の落下など危険な状態になります。 ●使用方法・使用荷重を考慮し、余裕のある製品を選定してください。 ●本製品で玉掛作業はできません。 ●本製品は、化学薬品用ならびに耐熱用ではありません。 ●付属の説明書をいつでも読めるように保管し、熟読してからご使用ください。 |
||||||||||||||
運賃、および消費税は、記載価格には、含まれていません。

[トップページに戻る] [注文書] [見積り依頼] TEL 0729-64-8663 FAX 0729-61-4874
営業時間 AM9:00~PM7:00 営業日 月曜日~金曜日 定休日 土曜日 日曜日 祝日