|
|
■包装資材 ■包装機械 ■物流機器 ■測定機器 ■洗剤 ■ケミカル ■蛍光灯 ■季節品-夏 ■季節品-冬 ■弱電工具 ■ホイスト ■環境機器 ■掃除機 ■ムーブテック ■切削工具 ■機械工具■調理厨房機器 ■研究室用品 ■安全防犯防災品 ■エクステリア ■新商品 ■在庫処分
| リンゴ・夏みかん・トマト・なし・かぶ・玉ねぎ調理機 品番 M2581PN-20S | 【詳細表示】 | |||||||||||||||||||||||||||||||||||||||||||||||||||||||
| 商品番号 | M2581PN-20S | 価 格 | ||||||||||||||||||||||||||||||||||||||||||||||||||||||
![]() |
リンゴ・夏みかん・トマト・なし・かぶ・玉ねぎ調理機 品番 M2581PN-20S |
|||||||||||||||||||||||||||||||||||||||||||||||||||||||
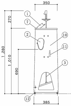
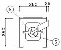
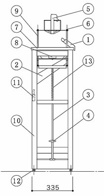
| 分割まで簡単に仕上げます。 リンゴ、夏みかん、トマト、なし、かぶ、タマネギ、などの「皮をむく」「割る」、じゃがいもの「芽を取る」といった作業を自動化し、時間がかかっていた大量の果物や野菜の下ごしらえが簡単にできます。 また、構造がシンプルなため、疲れにくく、扱いやすいことも大きな特徴です。 食品を傷めず、美しく調理するこれらの機器も40年以上使われているロングセラー品で、主に学校給食センターなどでご利用いただいております。 ![]() ■特長 ●オールステンレス製 ●一回の足踏みで芯が取れて品物が分割されます。 ●リンゴ·夏みかん·トマト·なし·かぶ·玉ねぎ等 多種目に利用できます。 ●本体は全てステンレス製です。耐酸·耐湿に強く 衛生的です。 ![]() ![]() ※分割されたリンゴをすべてやすくするための加工。 ■動作 ![]() ■調理の例 ![]() ![]() ![]() ■寸法図/名称部 ![]() ![]() ![]()
■仕様
|
||||||||||||||||||||||||||||||||||||||||||||||||||||||||
運賃、および消費税は、記載価格には、含まれていません。

[トップページに戻る] [注文書] [見積り依頼] TEL 0729-64-8663 FAX 0729-61-4874
営業時間 AM9:00~PM7:00 営業日 月曜日~金曜日 定休日 土曜日 日曜日 祝日