エアー式ドラム缶ポンプ

ドラムポンプ/ケミカルポンプ

業務機器&資材 シロ産業 HOME
新製品情報 在庫処分情報 会社概要
見積依頼 ご注文フォーム お問い合わせ
業務用機材商社一筋で、創業41年。東大阪市商工会議所会員、2005年度IT百選企業。
国公立大学、研究所、自衛隊、警察庁 など主な国公立機関に納入実績多数。医療機器販売業免許取得済

包装資材 包装機械 物流機器 測定機器 洗剤 ケミカル 蛍光灯 季節品-夏 季節品-冬 弱電工具 ホイスト 環境機器 掃除機 ムーブテック 切削工具 機械工具調理厨房機器 研究室用品 安全防犯防災品 エクステリア 新商品 在庫処分


カテゴリー第二分類(物流機器)
物流機器カテゴリー一覧を見る
作業台軽量作業台中量作業台重量作業台昇降式作業台ステンレス作業台台車軽量台車樹脂台車レベラー台車ストッパー付台車静音台車折りたたみ台車プレス製台車網カゴ台車長尺台車/長物台車鉄板台車二段台車三段台車一輪車二輪車アルミ製二輪/三輪運搬車ガスボンベ運搬車ドラム缶運搬車ステンレス台車アルミ台車パレット台車コンテナ台車電動台車牽引車平台車アルミ製運搬車エンジンクローラー運搬車マルチキャリー電動階段運搬車リヤカーアルミリヤカーピッキングカー手動リフターエアーリフト電動フォークリフト電動リフター電動テーブルリフト手動テーブルリフト手動油圧リフター油圧リフター油圧ハンドリフターコゾウリフターハンドパレット台車リフトステンレスリフターステンレス台車リフトエアコン室外機リフター集塵機一斗缶ペール缶ドラム缶反転リフトボンベスタンド一斗缶・ペール缶スタンドドラム缶ヒーター一斗缶ペール缶ドラム缶給油コックドラム缶液面計・残量ゲージ攪拌混合機ワゴンステンレスワゴンショッピングカートショッピングバスケットホワイトラスティースリムカートステンレス棚パレットプラスチックパレット再生エコパレット樹脂パレットアルミパレット輸出用パレットネスティングパレットラックボックスパレットパレットカバータンクポリエチレン製タンクステンレスタンク雨水タンクFRPタンク耐熱タンク貯水タンクドラム缶ドラムポンプ/ケミカルポンプコンテナ防水コンテナアルミコンテナ樹脂コンテナ折り畳み式コンテナマワールターンテーブルベルト荷締機高所作業用品脚立・はしご・踏み台安全用品作業用イス(オフィスチェア)クリーンルーム用チェア導電作業椅子・導電チェアライン引きラインテープキャスターゴミ箱分別ゴミ箱ステンレスゴミ箱防犯対策用窓付ゴミ箱傘立てコンベアステンレス機器テント/シート/網/カーテン油圧ジャッキエアー搬送機器保管庫ステンレス保管庫PCB廃棄物保管庫保冷庫/保温庫作業マット/フロアマット農業関連物流機器その他の物流機器中古物流機器

関連商品一覧

エアー式ドラム缶ポンプ/品番 M472LH-200B 【詳細表示】
商品番号 M472LH-200B 価 格
エアー式ドラム缶ポンプM472LH-200B エアー式ドラム缶ポンプ
品番 M472LH-200B
●一般的なポンプと違い、空運転や吸込み不良による負圧運転しても故障しない。
●スピード吸引/スピード排出
●コンプレッサーエア駆動方式にて防爆仕様(但しアース線等は必要)。
●1馬力のコンプレッサーより使用可能。
エアー式ドラム缶ポンプM472LH-200B

■概要
●内部には回転部がなく、摩擦等による故障の心配がほとんどありません。
●取付はドラム缶口(大栓2inネジ)にねじ込むだけ
●ブレス独自の2重安全機構により減圧調整弁不要(リリーフ弁付)。
●レバーを90°(ワンタッチ)廻すだけで、吸引・排出動作を瞬時に切替できます。
●水、油はらちろん、弱酸、アルカリ、液体+固形物の混合体にも使用できます。
●オプションでステンレスホースも用意しております。
●吸引した液体が容器に満タンになればフロート弁が作動し、自動的に吸入をストップします。
●付属品の蛇腹が吐出時のドラム缶内の残液を最小限にします。
●回収容器として市販の鋼製ドラム缶(JlS200L)がそのまま使用できます。
●環境ISO取得に取り組む企業などへ
●その他仕様変更にも柔軟に対応い致します。

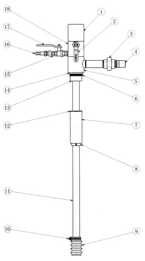
■吸引/排出切替レバー部
 

■リリーフ弁部


■ドラム缶セット状態(ドラム缶別売)


■ステンレスホース(オプション)



■仕様
品番 M472LH-200B
供給エア圧力 0.5MPa
真空度 -40kPa
吸引量(水200L) 120sec
排出量(水200L) 110sec
エア消費量 0.2Nm3/min
エアホース径 1/4B
排出ホース径 φ32×3m
セット内容 本体
φ32PVC製吸俳ホース3m×1本
PVC製吸俳ノズル×1本
ホースバンド×2個
※実吸引量はフロートの作動により180L程となります。
※供給エア圧力は0.5MPa時以外でも使用できます。

■寸法図

運賃、および消費税は、記載価格には、含まれていません。

[トップページに戻る] [注文書] [見積り依頼] TEL 0729-64-8663 FAX 0729-61-4874

営業時間 AM9:00~PM7:00 営業日 月曜日~金曜日 定休日 土曜日 日曜日 祝日