|
|
│作業台 │台車 │手動リフター │電動リフター │油圧ハンドリフター │ステンレス作業台 │プレス製台車 │油圧リフター │電動テーブルリフト │
│作業用イス(オフィスチェア) │鉄板台車 │コゾウリフター │ハンドパレット │台車リフト │ステンレス台車 │パレット台車 │安全用品 │
│電動台車 │マルチキャリー │ドラム缶運搬車 │ワゴン │パレット │平台車 │二輪車 │ガスボンベドラム缶運搬車 │
│アルミ運搬車 │ホワイトラスティー │棚 │ボックスパレット │コンテナ │マワール │ベルト荷締機 │高所作業用品 │
│ピッキングカー │コンテナ台車 │タンク │キャスター │電動階段運搬車 │ゴミ箱 │コンベア │ステンレス機器 │保管庫 │作業マット│
│集塵機 │傘立て │ドラムポンプケミカルポンプ │農業関連物流機器 │保冷庫 │その他の物流機器 │中古物流機器│
≪物流機器メインページ≫
| 耐熱フレコンバック/品番 M636RT-250-1T | 【詳細表示】 | |||||||||||||||||||||||||||||||||||||||||
| 商品番号 | M636RT-250-1T | 価 格 | ||||||||||||||||||||||||||||||||||||||||
![]() |
●繰返し使用可能で、燃えにくい素材で作られた耐熱温度250℃のフレコンバッグ。 ●投入口に「きんちゃく有」と「きんちゃく無」の2種類があります。(左図はきんちゃく有タイプ) |
耐熱フレコンバック 品番 M636RT-250-1T 廃番 |
||||||||||||||||||||||||||||||||||||||||
| ■特長 ●高温での使用が可能なフレコンバッグ ![]() ●国内生産のため品質が安定 ●屈曲性が良く、様々な形に製作可能 ●繰り返し使用も可能 ■用途 ●焼却灰の運搬・保管 ●高温樹脂の運搬・保管 ●高温エリアの運搬・保管 ●その他、過酷な状況下での使用 ■生地仕様 ●耐熱温度250℃ ●ガラスクロス、両面シリコン
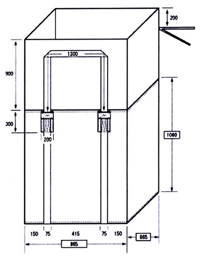
■寸法図(M636RT-250-1ET) ![]() ■仕様
|
||||||||||||||||||||||||||||||||||||||||||

[トップページに戻る][注文書] [見積り依頼] TEL0729-64-8663 FAX 0729-61-4874
営業時間 AM9:00~PM7:00 営業日 月曜日~金曜日 定休日 土曜日 日曜日 祝日