ホームページへ

包装資材包装機械物流機器測定機器洗  剤ケミカル蛍光灯
季節商品(夏)季節商品(冬)弱電工具ホイスト環境機器掃除機ムーブテック切削工具

作業台 - 作業用イス- 台車 - プレス製台車 -鉄板台車 - 手動リフター - コゾウリフター - パレット台車 - マルチキャリー
二輪車ガスボンベドラム缶運搬車 - アルミ運搬車油圧ハンドリフター電動テーブルリフトハンドパレット
ホワイトラスティー
- マワール - コンテナボックスパレットパレット - 電動台車 -ベルト荷締機 - 平台車
コンテナ台車 - 台車リフト - タンク - キャスター電動階段運搬車ゴミ箱物流機器メインページ

関連商品一覧

手動自走ストッパー付運搬ローラー/品番 M935J-3-PBF

【詳細表示】

商品番号 M935J-3-PBF

価 格

手動自走ストッパー付運搬ローラー/M935J-3-PBF けん引動力不要の「手動自走式ローラ」誕生! 手動自走ストッパー付運搬ローラー
品番 M935J-3-PBF
価格 \Mail
■特長
本体表面にクロームメッキを使用。
六角駆動軸を回すことで前進、後進および微調整ができます。
両サイドの六角軸により右、左どちら側でも操作可能。


※停止強度は、150kg以下にてご利用ください。

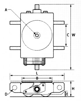
■寸法図


■仕様
品番 M935J-3-PBF
能力 3t
寸法
(mm)
H 78+(2)※
W 329
L 270
A M16
B t6 φ150
C 110
D φ23
E 10
駆動ローラ φ60×L80×4ヶ(ウレタン樹脂)
単位:ミリメートル
※縞板の高さを考慮。

運賃、および消費税は、記載価格には、含まれていません。

[トップページに戻る][注文書] [見積り依頼] TEL0729-64-8663 FAX 0729-61-4874
営業時間 AM9:00〜PM7:00 営業日 月曜日〜金曜日 定休日 土曜日 日曜日 祝日