看板取付ホルダー(ドブメッキ)

安全用品

業務機器&資材 シロ産業 HOME
新製品情報 在庫処分情報 会社概要
見積依頼 ご注文フォーム お問い合わせ
業務用機材商社一筋で、創業41年。東大阪市商工会議所会員、2005年度IT百選企業。
国公立大学、研究所、自衛隊、警察庁 など主な国公立機関に納入実績多数。医療機器販売業免許取得済

包装資材 包装機械 物流機器 測定機器 洗剤 ケミカル 蛍光灯 季節品-夏 季節品-冬 弱電工具 ホイスト 環境機器 掃除機 ムーブテック 切削工具 機械工具調理厨房機器 研究室用品 安全防犯防災品 エクステリア 新商品 在庫処分


カテゴリー第二分類(物流機器)
物流機器カテゴリー一覧を見る
作業台軽量作業台中量作業台重量作業台昇降式作業台ステンレス作業台台車軽量台車樹脂台車レベラー台車ストッパー付台車静音台車折りたたみ台車プレス製台車網カゴ台車長尺台車/長物台車鉄板台車二段台車三段台車一輪車二輪車アルミ製二輪/三輪運搬車ガスボンベ運搬車ドラム缶運搬車ステンレス台車アルミ台車パレット台車コンテナ台車電動台車牽引車平台車アルミ製運搬車エンジンクローラー運搬車マルチキャリー電動階段運搬車リヤカーアルミリヤカーピッキングカー手動リフターエアーリフト電動フォークリフト電動リフター電動テーブルリフト手動テーブルリフト手動油圧リフター油圧リフター油圧ハンドリフターコゾウリフターハンドパレット台車リフトステンレスリフターステンレス台車リフトエアコン室外機リフター集塵機一斗缶ペール缶ドラム缶反転リフトボンベスタンド一斗缶・ペール缶スタンドドラム缶ヒーター一斗缶ペール缶ドラム缶給油コックドラム缶液面計・残量ゲージ攪拌混合機ワゴンステンレスワゴンショッピングカートショッピングバスケットホワイトラスティースリムカートステンレス棚パレットプラスチックパレット再生エコパレット樹脂パレットアルミパレット輸出用パレットネスティングパレットラックボックスパレットパレットカバータンクポリエチレン製タンクステンレスタンク雨水タンクFRPタンク耐熱タンク貯水タンクドラム缶ドラムポンプ/ケミカルポンプコンテナ防水コンテナアルミコンテナ樹脂コンテナ折り畳み式コンテナマワールターンテーブルベルト荷締機高所作業用品脚立・はしご・踏み台安全用品作業用イス(オフィスチェア)クリーンルーム用チェア導電作業椅子・導電チェアライン引きラインテープキャスターゴミ箱分別ゴミ箱ステンレスゴミ箱防犯対策用窓付ゴミ箱傘立てコンベアステンレス機器テント/シート/網/カーテン油圧ジャッキエアー搬送機器保管庫ステンレス保管庫PCB廃棄物保管庫保冷庫/保温庫作業マット/フロアマット農業関連物流機器その他の物流機器中古物流機器

関連商品一覧

看板取付ホルダー(ドブメッキ)/品番 M2205BH-1ZT-280 【詳細表示】
商品番号 M2205BH-1ZT-280 価 格
看板取付ホルダー(ドブメッキ)M2205BH-1ZT-280 本体とTバーが別売りになりました。 看板取付ホルダー(ドブメッキ)
品番 M2205BH-1ZT-280
廃番
■特徴
●耐久性に優れたドブメッキ仕上路肩を有効に活用できます。
●清掃作業や除雪作業のじゃまになりません。
●曲がり支柱にも取り付けられます。(M2205BH-1ZT/2ZTシリーズ)
●従来型看板用※1 ※2とブロー枠用があります。
※1:フラットタイプ等には取り付けできません。
※2:看板は別途お求めください。


■用途
●ガードレールのビームに取り付けて看板を差し込み、Tバーを回し見やすい角度に調整してください。

●看板の揺れや振動を抑えるため、できるだけ支柱の近くに設置してください。(M2205BH-RZTタイプ)
φ114 支柱用+550 巾用 ブロー枠タイプ



■本体とTバーが別売りになりました。
 

■タイプ
●本体
ガードレール支柱用 ガードレールビーム用

●取付バー
替え用Tバー ブロー枠用 ガードレールビーム用Tバー


■取付イメージ (日本国内専用)



■注意事項
・ 安全のため必ず説明書をよくお読みの上、ご使用ください。
・ 六角ボルトに緩みがないか時々点検してください。
・ 強風などによる破損を防ぐため番線やロープなどで補強してください。
・ 従来型看板用です。 フラットタイプ等には取り付けできません。


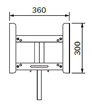
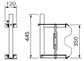
■寸法図
●本体
M2205BH-1ZT/2ZTタイプ M2205BH-RZTタイプ

●各種取付バー
M2205BH-12ZT-TBタイプ M2205BH-RZT-TBタイプ
M2205BH-TBBZ3630T
 


■仕様
●本体
品番 タイプ 適用支柱系 仕上 質量
M2205BH-1ZT-280 ガードレール支柱用 φ114 ドブメッキ 2.9kg
M2205BH-1ZT-300
M2205BH-1ZT-550
M2205BH-2ZT-280 φ140 3.1kg
M2205BH-2ZT-300
M2205BH-2ZT-550
M2205BH-RZT-280 ガードレールビーム用 350mm 2山 4.2kg
M2205BH-RZT-300
M2205BH-RZT-550




●取付バー
品番 適用機種 適用立て看板/
適用ブロー枠
仕上 質量
M2205BH-12ZT-TB280※3 M2205BH-1ZTシリーズ
M2205BH-2ZTシリーズ
280巾 ドブメッキ 1.6kg
M2205BH-12ZT-TB300※3 300巾 1.6kg
M2205BH-12ZT-TB550※3 550巾 2.3kg
M2205BH-TBBZ3630T※4 適用ブロー枠図参照 3.9kg
M2205BH-RZT-TB280 M2205BH-RZTシリーズ 280巾 1.6kg
M2205BH-RZT-TB300 300巾 1.6kg
M2205BH-RZT-TB550 550巾 2.1kg
※1:従来型看板用です。 フラットタイプ等には取り付けできません。
※2:適用ブロー枠以外は取り付けできません。


運賃、および消費税は、記載価格には、含まれていません。

[トップページに戻る] [注文書] [見積り依頼] TEL 0729-64-8663 FAX 0729-61-4874

営業時間 AM9:00~PM7:00 営業日 月曜日~金曜日 定休日 土曜日 日曜日 祝日