手動メッシュパレット反転リフター

油圧リフター

業務機器&資材 シロ産業 HOME
新製品情報 在庫処分情報 会社概要
見積依頼 ご注文フォーム お問い合わせ
業務用機材商社一筋で、創業41年。東大阪市商工会議所会員、2005年度IT百選企業。
国公立大学、研究所、自衛隊、警察庁 など主な国公立機関に納入実績多数。医療機器販売業免許取得済

包装資材 包装機械 物流機器 測定機器 洗剤 ケミカル 蛍光灯 季節品-夏 季節品-冬 弱電工具 ホイスト 環境機器 掃除機 ムーブテック 切削工具 機械工具調理厨房機器 研究室用品 安全防犯防災品 エクステリア 新商品 在庫処分


カテゴリー第二分類(物流機器)
物流機器カテゴリー一覧を見る
作業台軽量作業台中量作業台重量作業台昇降式作業台ステンレス作業台台車軽量台車樹脂台車レベラー台車ストッパー付台車静音台車折りたたみ台車プレス製台車網カゴ台車長尺台車/長物台車鉄板台車二段台車三段台車一輪車二輪車アルミ製二輪/三輪運搬車ガスボンベ運搬車ドラム缶運搬車ステンレス台車アルミ台車パレット台車コンテナ台車電動台車牽引車平台車アルミ製運搬車エンジンクローラー運搬車マルチキャリー電動階段運搬車リヤカーアルミリヤカーピッキングカー手動リフターエアーリフト電動フォークリフト電動リフター電動テーブルリフト手動テーブルリフト手動油圧リフター油圧リフター油圧ハンドリフターコゾウリフターハンドパレット台車リフトステンレスリフターステンレス台車リフトエアコン室外機リフター集塵機一斗缶ペール缶ドラム缶反転リフトボンベスタンド一斗缶・ペール缶スタンドドラム缶ヒーター一斗缶ペール缶ドラム缶給油コックドラム缶液面計・残量ゲージ攪拌混合機ワゴンステンレスワゴンショッピングカートショッピングバスケットホワイトラスティースリムカートステンレス棚パレットプラスチックパレット再生エコパレット樹脂パレットアルミパレット輸出用パレットネスティングパレットラックボックスパレットパレットカバータンクポリエチレン製タンクステンレスタンク雨水タンクFRPタンク耐熱タンク貯水タンクドラム缶ドラムポンプ/ケミカルポンプコンテナ防水コンテナアルミコンテナ樹脂コンテナ折り畳み式コンテナマワールターンテーブルベルト荷締機高所作業用品脚立・はしご・踏み台安全用品作業用イス(オフィスチェア)クリーンルーム用チェア導電作業椅子・導電チェアライン引きラインテープキャスターゴミ箱分別ゴミ箱ステンレスゴミ箱防犯対策用窓付ゴミ箱傘立てコンベアステンレス機器テント/シート/網/カーテン油圧ジャッキエアー搬送機器保管庫ステンレス保管庫PCB廃棄物保管庫保冷庫/保温庫作業マット/フロアマット農業関連物流機器その他の物流機器

関連商品一覧

手動メッシュパレット反転リフター 品番 M37RL-H500KG 【詳細表示】
商品番号 M37RL-H500KG 価 格
手動メッシュパレット反転リフターM37RL-H500KG なめらかな油圧機構でリフト反転も容易、高さの調節も自由自在。90~140mmまで垂直にリフトした後、反転しはじめます。
M37RL-H型は足踏みペダル式、M37RL-E型は押しボタンスイッチのワンタッチ式。
手動メッシュパレット反転リフター
品番 M37RL-H500KG
価格は下記をご覧ください。
■特長
●プレス作業、組み立て加工などの場面で力を発揮する反転式リフター。
●深さのある網パレットに入った部材でも、最後まで無理なく取り出せるようにフォークが最大 90°まで反転します。

●垂直リフトは 90~140mm までカバーし、スムーズな運搬作業を実現。
●作業環境に応じて、手動タイプ(足踏みペダル)と、電動タイプ(AC200V)をお選びいただけます。


■タイプ
手動式 電動式
手動メッシュパレット反転リフターM37RL-H500KG


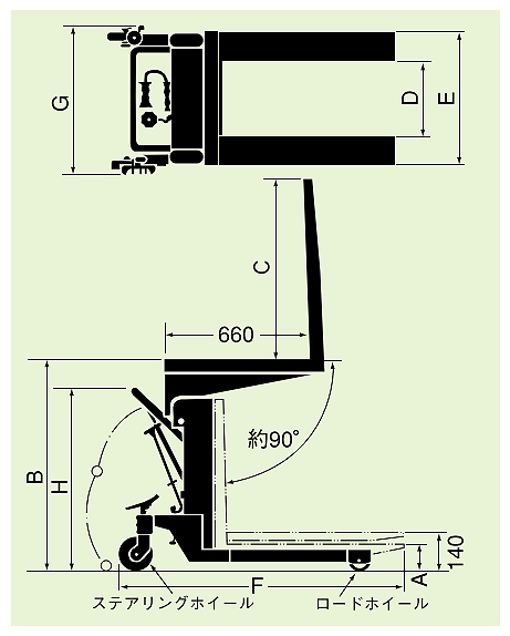
■寸法図



■仕様
品番 M37RL-H500KG M37RL-H1000KG M37RL-E500KG M37RL-E1000KG
タイプ 手動式 電動式
最大積載量(kg) 500 1000 500 1000
最低位(mm) A 90 90
反転最高位(mm) B 905 910 905 910
フォーク(mm) 長さ C 800 800
内幅 D 335 335
外幅 E 585 585
本体(mm) 全長 F 1305 1310 1305 1310
全幅 G 660 660
全高 H 870 870
ステアリングホイール
(φ×幅)
ステレオ150×45 ウレタン150×50 ステレオ150×45 ウレタン150×50
ロードホイール
(φ×幅)
ウレタン80×75 ウレタン80×75
動力源 油圧足踏 AC200V3相
上昇時間(秒)
(60/50Hz)
47 65 20/27 30/36
車体重量(kg) 120 165 142 186



運賃、および消費税は、記載価格には、含まれていません。

[トップページに戻る] [注文書] [見積り依頼] TEL 0729-64-8663 FAX 0729-61-4874

営業時間 AM9:00~PM7:00 営業日 月曜日~金曜日 定休日 土曜日 日曜日 祝日