高粘度電動ポンプセット(ホース接続タイプ)

ドラムポンプ/ケミカルポンプ

業務機器&資材 シロ産業 HOME
新製品情報 在庫処分情報 会社概要
見積依頼 ご注文フォーム お問い合わせ
業務用機材商社一筋で、創業41年。東大阪市商工会議所会員、2005年度IT百選企業。
国公立大学、研究所、自衛隊、警察庁 など主な国公立機関に納入実績多数。医療機器販売業免許取得済

包装資材 包装機械 物流機器 測定機器 洗剤 ケミカル 蛍光灯 季節品-夏 季節品-冬 弱電工具 ホイスト 環境機器 掃除機 ムーブテック 切削工具 機械工具調理厨房機器 研究室用品 安全防犯防災品 エクステリア 新商品 在庫処分


カテゴリー第二分類(物流機器)
物流機器カテゴリー一覧を見る
作業台軽量作業台中量作業台重量作業台昇降式作業台ステンレス作業台台車軽量台車樹脂台車レベラー台車ストッパー付台車静音台車折りたたみ台車プレス製台車網カゴ台車長尺台車/長物台車鉄板台車二段台車三段台車一輪車二輪車アルミ製二輪/三輪運搬車ガスボンベ運搬車ドラム缶運搬車ステンレス台車アルミ台車パレット台車コンテナ台車電動台車牽引車平台車アルミ製運搬車エンジンクローラー運搬車マルチキャリー電動階段運搬車リヤカーアルミリヤカーピッキングカー手動リフターエアーリフト電動フォークリフト電動リフター電動テーブルリフト手動テーブルリフト手動油圧リフター油圧リフター油圧ハンドリフターコゾウリフターハンドパレット台車リフトステンレスリフターステンレス台車リフトエアコン室外機リフター集塵機一斗缶ペール缶ドラム缶反転リフトボンベスタンド一斗缶・ペール缶スタンドドラム缶ヒーター一斗缶ペール缶ドラム缶給油コックドラム缶液面計・残量ゲージ攪拌混合機ワゴンステンレスワゴンショッピングカートショッピングバスケットホワイトラスティースリムカートステンレス棚パレットプラスチックパレット再生エコパレット樹脂パレットアルミパレット輸出用パレットネスティングパレットラックボックスパレットパレットカバータンクポリエチレン製タンクステンレスタンク雨水タンクFRPタンク耐熱タンク貯水タンクドラム缶ドラムポンプ/ケミカルポンプコンテナ防水コンテナアルミコンテナ樹脂コンテナ折り畳み式コンテナマワールターンテーブルベルト荷締機高所作業用品脚立・はしご・踏み台安全用品作業用イス(オフィスチェア)クリーンルーム用チェア導電作業椅子・導電チェアライン引きラインテープキャスターゴミ箱分別ゴミ箱ステンレスゴミ箱防犯対策用窓付ゴミ箱傘立てコンベアステンレス機器テント/シート/網/カーテン油圧ジャッキエアー搬送機器保管庫ステンレス保管庫PCB廃棄物保管庫保冷庫/保温庫作業マット/フロアマット農業関連物流機器その他の物流機器中古物流機器

関連商品一覧

高粘度電動ポンプセット(ホース接続タイプ)/品番 M58VH-100A-SET 【詳細表示】
商品番号 M58VH-100A-SET 価 格
高粘度電動ポンプセット(ホース接続タイプ)M58VH-100A-SET AC100V・200V・DC12Vで使用でき、灯油・軽油から高粘度オイルまで移送可能

ホースや配管を接続して使用する電動式ポンプ
高粘度電動ポンプセット(ホース接続タイプ)
品番 M58VH-100A-SET
価格は下記をご覧下さい
■特長
●15℃で一般オイルVG400・ギヤオイルSAE140まで可能です。
●電源はAC100V、200V(単相)とDC12Vの3タイプ。
●0.45MPaという高い吐出圧力で押し出すために、高所や長い横引きでも吐出量があまり減少しません。
●ホース接続タイプは標準吐出ホース2.4M吸入ホース2M付。
●ホース延長可能です。
●灯油・軽油も使用可能。
●今まで難しかった高粘度オイル(2,500cP以下)を効率的に移送するギヤポンプです。
●大容量タイプもあり、1,000cPまでのオイルを1分間に30Lという高速で圧送します。
●流量計や手動ノズルのオプションもあり使用用途も様々。



■ポンプしくみ(ギヤポンプ)
2枚の平歯車の回転で液体を移動させる方式のポンプの一種です。
ギヤードポンプとも呼びます。 ギヤとケーシングの間が液体チャンバの役割となって移送する容積式のため、回転数と移送量が比例し、送り量の計算が容易で定量性に優れます。 脈動が少なく、比較的粘度の高い液体の移送にも対応し、ある程度の固形物含有液にも使用できるポンプ。吐出圧が高いの特徴です。
※スラッジ等はギヤ部に噛み込む恐れがありますのでご注意ください。

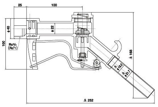
■寸法図(ポンプ本体)


品番 M58VH-100A-SET M58VH-200A-SET M58VH-12A-SET M58VH-100HA-SET
A 125 125 125 125
B 165 165 215 165
C 235 235 235 235
D 267 286 292 272
E 304 330 336 317
F 32 32 32 32
G 120 120 120 120
H 140 140 140 140

■ホース接続タイプ付属品

品番 付属品
吐出ホース 吸入ホース ボールバルブ
ノズル
手動
ガンノズル
計量ノズル 機械式
流量計
M58VH-100A-SET      
M58VH-200A-SET      
M58VH-12A-SET      
M58VH-100HA-SET      
M58VH-100HAK-SET      
M58VH33-100A-SET    
M58VH33-100HA-SET    


■仕様
品番 使用液体 可能粘度  作動圧力 押上揚程 最大
吐出量
吸込
揚程
接続
MPa m L/min m
M58VH-100A-SET 灯油
軽油
オイル
2500cP以下 0.45 30 15 6 吐出Rc3/4
吸入Rc1
M58VH-200A-SET
M58VH-12A-SET
M58VH-100HA-SET 1000cP以下 0.21 15 30 (6)
M58VH-100HAK-SET
M58VH33-100A-SET 2500cP以下 0.45 30 15 6
M58VH33-100HA-SET 1000cP以下 0.21 15 30 (6)
※吸込圧はM58VH-100A-SETと同じです。

品番 接液部材質 電源 電流 定格 電源コード 重量
本体 パッキン
M58VH-100A-SET FC・AL NBR 100 10.5 20分 5.5m 15.3kg
M58VH-200A-SET 単相200 4.5 リード線0.05 12.0kg
M58VH-12A-SET DC12 35 リード線0.75 14.2kg
M58VH-100HA-SET 100 10.5 5.5m 16.2kg
M58VH-100HAK-SET 16.2kg
M58VH33-100A-SET FC・AL NBR 15.3kg
M58VH33-100HA-SET 16.2kg




■付属品
<ガンノズル>
●ポンプと一緒に使用するガンタイプのノズル
●手元で楽々簡単操作(使用圧力が設定されていますのでご注意ください。)
●使用圧力0.15MPa以下

接続口径 20mm
本体 アルミ・真鍮
パッキン NBR
接続 Rc3/4 スイベル付
重量 0.7kg
使用圧力 0.15MPa以下
使用可能液体 灯油・軽油・オイル・ガソリン
寸法図
※手動のガンノズルは各種、使用可能圧力が違います。使用されるポンプ等のご確認を再度お願い致します。
※大きな流量をお求めの場合は大容量型をお求めください。


<計量ガンノズル>
●吐出量を計るメーター付ガンノズル
●単5乾電池2個使用
●ストレーナー付
●手元で流量がわかるので、手動のガンノズルでも便利


<大型流量計>
●簡易な機械式流量計です。
●使用液体ごとにキャリブレーション(校正)が可能です。
●表示板は4方向(90度ごと位置に回転)に向きを変えることが可能です。
●1000cpまでのオイル用、簡易機械式の流量計です。
●ポンプやホースと組み合わせてご使用下さい。


使用温度 -10~60℃
OLタイプ使用可能粘度 1000mPa・S
部分積算 3桁表示(0.1~999L)
トータル積算 6桁表示(999999L)
最大圧力 1MPa
タイプ オイル(1000cP以下)用
流量範囲(L/min) 20~120
配管接続 G1メス
本体 アルミ/ポリブチレン
パッキン ニトリルゴム(NBR)
重量 2kg

運賃、および消費税は、記載価格には、含まれていません。

[トップページに戻る] [注文書] [見積り依頼] TEL 0729-64-8663 FAX 0729-61-4874

営業時間 AM9:00~PM7:00 営業日 月曜日~金曜日 定休日 土曜日 日曜日 祝日