コードレスポンプ (ポリ缶一斗缶用) 

ドラムポンプ/ケミカルポンプ

業務機器&資材 シロ産業 HOME
新製品情報 在庫処分情報 会社概要
見積依頼 ご注文フォーム お問い合わせ
業務用機材商社一筋で、創業41年。東大阪市商工会議所会員、2005年度IT百選企業。
国公立大学、研究所、自衛隊、警察庁 など主な国公立機関に納入実績多数。医療機器販売業免許取得済

包装資材 包装機械 物流機器 測定機器 洗剤 ケミカル 蛍光灯 季節品-夏 季節品-冬 弱電工具 ホイスト 環境機器 掃除機 ムーブテック 切削工具 機械工具調理厨房機器 研究室用品 安全防犯防災品 エクステリア 新商品 在庫処分


カテゴリー第二分類(物流機器)
物流機器カテゴリー一覧を見る
作業台軽量作業台中量作業台重量作業台昇降式作業台台車ストッパ付台車樹脂台車アルミ台車レベラ台車長尺台車/長物台車静音台車ワゴンステンレスワゴンピッキングカーコンテナ台車ショッピングカート二段台車三段台車手動リフター手動油圧リフターステンレスリフター電動リフター電動フォークリフト油圧ハンドリフターエアーリフト油圧リフター油圧ジャッキ電動テーブルリフト作業イス(オフィスチェア)クリーンルーム用チェア導電作業椅子鉄板台車コゾウリフターハンドパレット台車リフトステンレス台車ステンレス台車リフトパレット台車ステンレス作業台プレス製台車電動台車エンジンクローラー運搬車マルチキャリー一斗缶ペール缶ドラム缶反転リフト一斗缶ペール缶ドラム缶給油コックドラム缶残量ゲージ・液面計パレットプラスチックパレット再生エコパレット樹脂パレットアルミパレット輸出パレット平台車二輪車リヤカーアルミリヤカーボンベスタンドドラム缶運搬車ドラム缶ヒーターボンベドラム缶運搬車アルミ運搬車電動階段運搬車ホワイトラスティーボックスパレットコンテナ折畳式コンテナアルミコンテナ防水コンテナマワールターンテーブルベルト荷締機高所作業用品タンクステンレスタンク雨水タンクFRPタンク耐熱タンク貯水タンクドラム缶キャスターゴミ箱分別ゴミ箱集塵機安全用品ライン引きラインテープコンベアステンレス機器保管庫作業マット傘立てテント・シート・網・カーテンエアー搬送機器ドラムポンプ/ケミカルポンプ農業関連物流機器保冷庫/保温庫その他の物流機器中古物流機器

関連商品一覧

コードレスポンプ (ポリ缶一斗缶用) /品番 M655B-21M 【詳細表示】
商品番号 M655B-21M 価 格
コードレスポンプ (ポリ缶一斗缶用) M655B-21M コードレスポンプ (ポリ缶一斗缶用) 
品番 M655B-21M
価格は下記をご覧ください。
薬品・薬液等の移送作業を安全に行うための充電式ハンディポンプです。
コードレスなので、使用場所を選ばず使い勝手が抜群。

■タイプ
M655B-21M M655B-316FM
コードレスポンプ (ポリ缶一斗缶用) M655B-21M
M655B-21LM M655B-316LFM


■特徴
●総移送量UP
リチウムイオン電池を採用した事で、より高効率で高い移送量を実現。
●利便性向上
使用場所を選ばないコードレスポンプ
●流量調節式
使用用途に合わせて能力切替が可能(三段階切替えスイッチ付)
●海外対応
充電器が240Vまで対応しているため、海外でも使用可能
※標準の電源ケーブルとプラグは国内仕様のため、海外仕様の電源ケーブルとプラグは別途必要になります。
●互換性
ポンプ部はメーカー従来ポンプと共通、モータ部を交換すればコードレスポンプに変身
※一部互換性の無い商品もあります。


■用途
半導体製造用薬品の移送に。
研究室等で使用する薬品のあけかえに。
化学薬品、薬品倉庫などの薬液の小分けに。


■仕様
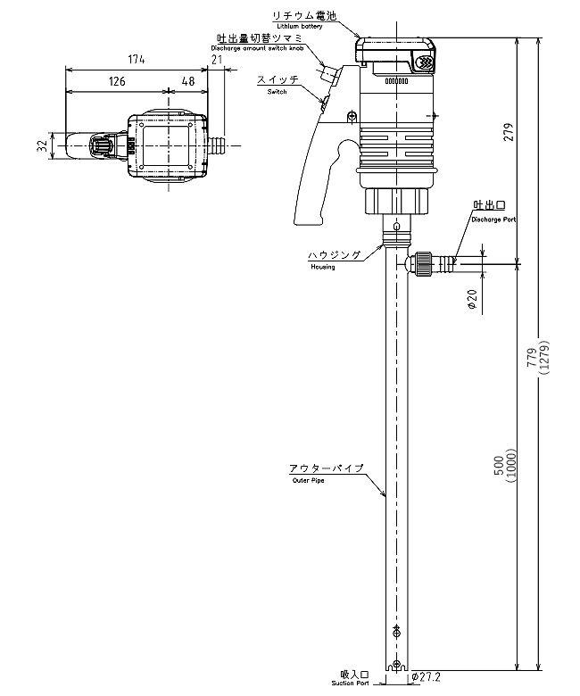
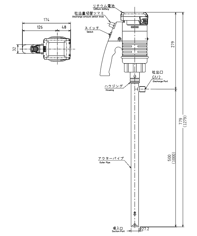
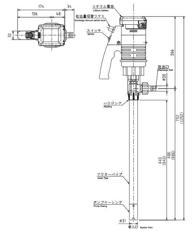
品番 ポリ缶・一斗缶用 M655B-21M M655B-316M M655B-316FM
ドラム缶用 M655B-21LM M655B-316LM M655B-316LFM
主要材質 PP SUS316
最大吐出量 20L/min 22L/min
全揚程 2.5m 3m
使用液温 40℃
使用粘度 40CP
重量 1.5kg 2.5kg
1.7kg 3.0kg
吐出ロ径 20A 20A G1/2
バッテリー リチウムイオン電池(DC14.4V,2Ah)
充電時間 60分※
稼働時間 40分(20L/min時) 45分(22L/min時)
80分(12L/min時) 100分(12L/min時)
130分(8L/min時) 165分(8L/min時)
接液材質 インペラー PP PTFE
シャフト C276 SUS316
Oリング FPM PTFE
付属品 PVC製φ19ホース(1m)、ホースバンド、
充電器/充電パック
SUS304製ホース15A(1m)
充電器/充電パック
寸法図
※ポンプ運転直後はバッテリーが高温になる為、冷却時間(室温:25Cで約30分程度/5℃で約15分程度)を加味してください。



運賃、および消費税は、記載価格には、含まれていません。

[トップページに戻る] [注文書] [見積り依頼] TEL 0729-64-8663 FAX 0729-61-4874

営業時間 AM9:00~PM7:00 営業日 月曜日~金曜日 定休日 土曜日 日曜日 祝日