|
|
■包装資材
■包装機械
■物流機器
■測定機器 ■洗剤■ケミカル
■蛍光灯
■季節商品(夏)
■季節商品(冬)
■弱電工具
■ホイスト
■環境機器
■掃除機
■ムーブテック
■切削工具
■機械工具■調理厨房機器
■研究室用品
■安全防犯防災用品
■エクステリア
■新商品情報
■在庫処分情報
| 測定器用スタンド手動ハンドル式/品番 SV-2 | 【詳細表示】 | |||||||||||||||||||||||||
| 商品番号 | SV-2 | 価 格 | ||||||||||||||||||||||||
![]() |
●IC等のリード線溶着接合強度測定 ●タッチパネルやシートスイッチ、キーボードの操作力測定 ●コイルばねの圧縮力測定 ※左写真は測長器付きです。 フォースゲージは別売りです。 |
測定器用スタンド手動ハンドル式 品番 SV-2 廃番 後継機種はこちら→M1VL-1000Nシリーズ |
||||||||||||||||||||||||
| ■特徴 ●ハンドルによる送り方式で、微小移動が可能です。安定した加圧力が得られます。 ●小型、軽量で持ち運び、取り扱いが容易です。 ●測長器付は、0.01mm単位で移動量を測定できます。 ■仕様
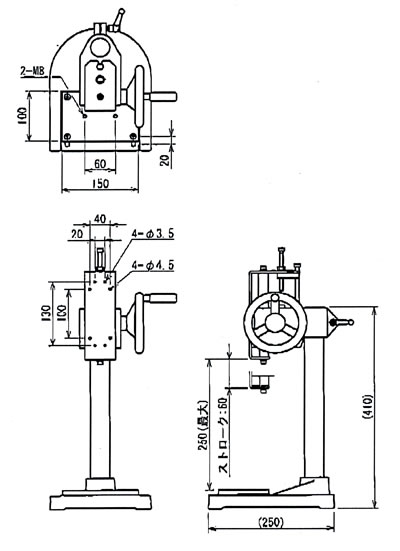
■寸法図 ![]() |
||||||||||||||||||||||||||

[トップページに戻る][注文書] [見積り依頼] TEL0729-64-8663 FAX 0729-61-4874
営業時間 AM9:00〜PM7:00 営業日 月曜日〜金曜日 定休日 土曜日 日曜日 祝日