ホームページへ

1976年創業 東大阪市商工会議所会員 2005年度IT百選企業。国公立大学、研究所 自衛隊、警察庁 など主な国公立機関に納入実績多数 医療機器販売業免許取得済み
トップページ

包装資材 包装機械 物流機器 測定機器 洗剤ケミカル 蛍光灯 季節商品(夏) 季節商品(冬) 弱電工具 ホイスト 環境機器
掃除機 ムーブテック 切削工具 機械工具 調理厨房機器 研究室用品 安全防犯防災用品 エクステリア 新商品情報 在庫処分情報



測定 MAIN PAGE
温湿度計-温度計 - 記録温湿度計放射温度計 -重量はかり- 吊はかり- 電気測定器- 厚さ計トルクゲージノギス、マイクロメータ
騒音計PH水質計風速計ガス臭気測定器−ニオイ臭気測定器デジタル距離計金属探知器水分計 -照度計色計枚数計数機器回転計
プッシュプルゲージおんどとりデータロガーシックネスゲージ振動計電磁力計気象計器光学機器ファイバースコープ
電磁波・電位計糖度計酸度計塩分計屈折計濃度計角度計粉塵計-硬度計-圧力計流量計-健康管理-その他計測器測定メインページ

関連商品一覧

中古日新電子金属検出機/品番 ND-820通過高さ250mm
問い合わせ番号 Z-0652-6

【詳細表示】

商品番号 ND-820通過高さ250mm

価 格

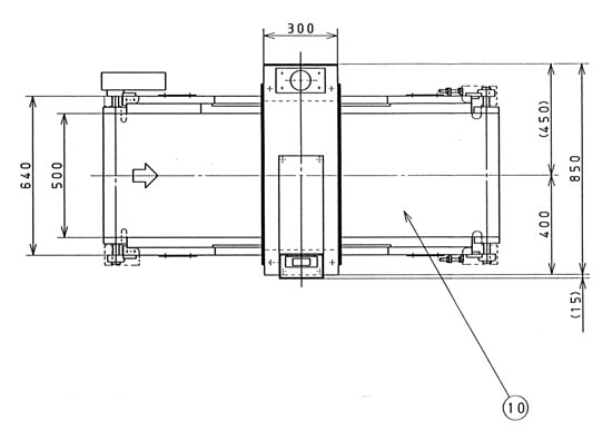
中古日新電子金属検出機/ND-820通過高さ250mm/Z-0652-6 検出能力:
Fe φ2.0
SUS φ3.0

通過幅 545mm
ベルト幅 500mm
通過高さ 250mm

全長約1630mm
全幅約900mm
全高約1650mm
全自重約150kg

中古日新電子金属検出機
品番 ND-820通過高さ250mm
問い合わせ番号 Z-0652-6
完売
  

  



■外形図




■試験成績表




運賃、および消費税は、記載価格には、含まれていません。

[トップページに戻る][注文書] [見積り依頼] TEL0729-64-8663 FAX 0729-61-4874
営業時間 AM9:00〜PM7:00 営業日 月曜日〜金曜日 定休日 土曜日 日曜日 祝日