|
|
■包装資材 ■包装機械 ■物流機器 ■測定機器 ■洗剤 ■ケミカル ■蛍光灯 ■季節品-夏 ■季節品-冬 ■弱電工具 ■ホイスト ■環境機器 ■掃除機 ■ムーブテック ■切削工具 ■機械工具■調理厨房機器 ■研究室用品 ■安全防犯防災品 ■エクステリア ■新商品 ■在庫処分
| 照度計(0~150klux)mV出力/品番 MC8PHOT-13NS | 【詳細表示】 | ||||||||||||||||||||||||||||||||||||||||||||||||||||||
| 商品番号 | MC8PHOT-13NS | 価 格 | |||||||||||||||||||||||||||||||||||||||||||||||||||||
![]() |
照度計(0~150klux)mV出力 品番 MC8PHOT-13NS 価格は下記をご覧ください |
||||||||||||||||||||||||||||||||||||||||||||||||||||||
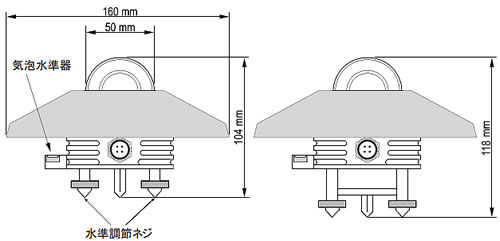
| 高感度mV、DC4~20mA、0~1V出力、水準器、遮蔽板付 面に入射する光束(ルーメン)と単位面積(m2)の比として定義される照度(lux)を測定します。 光度測定プローブのスペクトル応答カーブは、標準明所視カーブV(λ)として知られている人間の目の応答カーブに近似しています。 スペクトル応答における標準明所視カーブV(λ)の差は誤差f’1で計算されます。 堅牢な構造で、屋外での長期使用を前提に設計されており、主に昼光における気象計測に使用します。 ![]() ■動作原理 MC8PHOT-13NSは半導体センサをベースに作られており、そのスペクトル応答は人間の目の応答に適合するよう、フィルタによって補正されています。 Fig.1に代表スペクトル感度を示します。 MC8PHOT-13NSはセンサを外界から保護するため、直径50mmの透明ガラスドームを備えています。 PTFE製ディフューザと独特なケース形状によりコサイン(余弦)補正を行い、良好なレスポンスを実現しています。 理論的なレスポンスと実際のレスポンスの差をFig.2に示します。 MC8PHOT-13NSはその優れたコサイン(余弦)補正により、太陽の仰角が低い場合でも使用が可能です。 ![]() ■外形寸法 ![]() ![]()
■仕様
|
|||||||||||||||||||||||||||||||||||||||||||||||||||||||
運賃、および消費税は、記載価格には、含まれていません。

[トップページに戻る] [注文書] [見積り依頼] TEL 0729-64-8663 FAX 0729-61-4874
営業時間 AM9:00~PM7:00 営業日 月曜日~金曜日 定休日 土曜日 日曜日 祝日