デジタル台秤は、生産、梱包、倉庫、在庫、出/入荷の各分野での一般的な計量、簡単なカウント、およびチェック計量のアプリケーションに最適です。
デジタル台秤は、 シンプルでありながら頑丈な管状フレームのベースデザインと、ソフトキー、マルチカラーバ ックライト付きLCDディスプレイ、および取り付け個所を柔軟に変更できる表示部を備えています。

■特徴
●大きくて明るいバックライト付きLCDディスプレイを使用すると、結果が明確に表 示されます。
チェック計量モードでは、ディスプレイの色が黄色/緑/赤に変わり、目標重量範囲内であるかどうかを色でお知らせします。
●この頑丈な産業用台はかりは、304ステンレス鋼のプラットフォーム、粉体塗装さ れた鋼製の管状フレーム、カラム、およびアルミニウム製ロードセルを備えています。
表示部は、耐久性のあるABSハウジングと粉体塗装されたスチール製の取り付けブラケットを備えています。
●部品の個数計量、チェック計量、および合計のためのソフトウェアを備えています。
印刷またはデータ接続用のため、RS232インターフェイスを標 準で搭載し、USB、イーサーネットはオプションで対応します。
■表示部

■タイプ
 

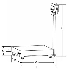
■寸法図

■仕様
| 品番 |
MG13-D33P15B1R1JPM |
MG13-D33P30B1R1JPM |
| ひょう量×最小表示 |
15kg×1g |
30kg×2g |
| 内蔵計量分解能 |
1:15,000 |
| 直線性/繰り返し性 |
±2d |
| 表示部 |
ABS樹脂 |
コラム
(表示用ポール) |
330mm 粉体塗装鋼 |
| 計量部 |
ステンレス製計量皿、塗装鋳鉄フレーム、
シリコンコーティングさらたアルミ製ロードセル |
| 許容過負荷 |
ひょう量の150% |
| 安定時間 |
1秒以内 |
| 動作温度範囲 |
-10℃ to 40℃ |
本体寸法(mm)
(A×B×C×D×E×F) |
355×305×121.8×75×541.6×489.1 |
| 梱包寸法 |
642×497×212 |
642×497×212 |
| 本体重量 |
10.9kg |
10.9kg |
| 梱包重量 |
13.9kg |
13.9kg |
| 品番 |
MG13-D33P60B1R1JPM |
MG13-D33P60B1L2JPM |
| ひょう量×最小表示 |
60kg×5g |
| 内蔵計量分解能 |
1:12,000 |
| 直線性/繰り返し性 |
±2d |
| 表示部 |
ABS樹脂 |
コラム
(表示用ポール) |
330mm 粉体塗装鋼 |
680mm 粉体塗装鋼 |
| 計量部 |
ステンレス製計量皿、塗装鋳鉄フレーム、
シリコンコーティングさらたアルミ製ロードセル |
| 許容過負荷 |
ひょう量の150% |
| 安定時間 |
1秒以内 |
| 動作温度範囲 |
-10℃ to 40℃ |
本体寸法
(A×B×C×D×E×F) |
355×305×121.8×75×541.6×489.1 |
550×420×134×80×896.1×685.6 |
| 梱包寸法 |
642×497×212 |
857×564×225 |
| 本体重量 |
10.9kg |
17.5kg |
| 梱包重量 |
13.9kg |
21.5kg |
| 品番 |
MG13-D33P150B1L2JPM |
MG13-D33P150B1X2JPM |
| ひょう量×最小表示 |
150kg×10g |
150kg×10g |
| 内蔵計量分解能 |
1:15,000 |
| 直線性/繰り返し性 |
±2d |
| 表示部 |
ABS樹脂 |
コラム
(表示用ポール) |
680mm 粉体塗装鋼 |
| 計量部 |
ステンレス製計量皿、塗装鋳鉄フレーム、
シリコンコーティングさらたアルミ製ロードセル |
| 許容過負荷 |
ひょう量の150% |
| 安定時間 |
1秒以内 |
| 動作温度範囲 |
-10℃ to 40℃ |
本体寸法
(A×B×C×D×E×F) |
550×420×134×80×896.1×685.6 |
650×500×150×90×894.6×784.6 |
| 梱包寸法 |
857×564×225 |
1022×687×247 |
| 本体重量 |
17.5kg |
27.6kg |
| 梱包重量 |
21.5kg |
31.1kg |
| 品番 |
MG13-D33P300B1X2JPM |
MG13-D33P300B1V3JPM |
| ひょう量×最小表示 |
300kg×20g |
300kg×20g |
| 内蔵計量分解能 |
1:15,000 |
| 直線性/繰り返し性 |
±2d |
| 表示部 |
ABS樹脂 |
コラム
(表示用ポール) |
680mm 粉体塗装鋼 |
980mm 粉体塗装鋼 |
| 計量部 |
ステンレス製計量皿、塗装鋳鉄フレーム、
シリコンコーティングさらたアルミ製ロードセル |
| 許容過負荷 |
ひょう量の150% |
| 安定時間 |
1秒以内 |
| 動作温度範囲 |
-10℃ to 40℃ |
本体寸法
(A×B×C×D×E×F) |
650×500×150×90×894.6×784.6 |
800×600×154.1×90×1194.6×933.1 |
| 梱包寸法 |
1022×687×247 |
1165×780×235 |
| 本体重量 |
27.6kg |
46kg |
| 梱包重量 |
31.1kg |
50kg |
| 品番 |
MG13-D33P600B1V3JPM |
| ひょう量×最小表示 |
600kg×50g |
| 内蔵計量分解能 |
1:12,000 |
| 直線性/繰り返し性 |
±2d |
| 表示部 |
ABS樹脂 |
コラム
(表示用ポール) |
980mm 粉体塗装鋼 |
| 計量部 |
ステンレス製計量皿、塗装鋳鉄フレーム、
シリコンコーティングさらたアルミ製ロードセル |
| 許容過負荷 |
ひょう量の150% |
| 安定時間 |
1秒以内 |
| 動作温度範囲 |
-10℃ to 40℃ |
本体寸法
(A×B×C×D×E×F) |
800×600×154.1×90×1194.6×933.1 |
| 梱包寸法 |
1165×780×235 |
| 本体重量 |
46kg |
| 梱包重量 |
50kg |
■寸法図

■仕様
| 品番 |
MG13-D33P15B1R5JPM |
MG13-D33P30B1R5JPM |
| ひょう量×最小表示 |
15kg×1g |
30kg×2g |
| 内蔵計量分解能 |
1:15,000 |
|
| 直線性/繰り返し性 |
±2d |
|
| 表示部 |
ABS樹脂 |
|
| マウント |
ハンドル付き304ステンレス鋼フロントマウントブラケット |
| 計量部 |
ステンレス製計量皿、塗装鋳鉄フレーム、
シリコンコーティングさらたアルミ製ロードセル |
| 許容過負荷 |
ひょう量の150% |
| 安定時間 |
1秒以内 |
| 動作温度範囲 |
-10℃ to 40℃ |
本体寸法(mm)
(A×B×C×D×E×F) |
355×305×121.8×75×130×645.5 |
| 梱包寸法 |
857×564×225 |
| 本体重量 |
10.2kg |
| 梱包重量 |
12.5kg |
| 品番 |
MG13-D33P60B1R5JPM |
MG13-D33P60B1L5JPM |
| ひょう量×最小表示 |
60kg×5g |
|
| 内蔵計量分解能 |
1:12,000 |
|
| 直線性/繰り返し性 |
±2d |
|
| 表示部 |
ABS樹脂 |
|
| マウント |
ハンドル付き304ステンレス鋼フロントマウントブラケット |
| 計量部 |
ステンレス製計量皿、塗装鋳鉄フレーム、
シリコンコーティングさらたアルミ製ロードセル |
| 許容過負荷 |
ひょう量の150% |
| 安定時間 |
1秒以内 |
| 動作温度範囲 |
-10℃ to 40℃ |
本体寸法
(A×B×C×D×E×F) |
355×305×121.8×75×130×645.5 |
550×420×134×80×132.9×842 |
| 梱包寸法 |
857×564×225 |
1022×687×247 |
| 本体重量 |
10.2kg |
16.1kg |
| 梱包重量 |
12.5kg |
20.1kg |
| 品番 |
MG13-D33P150B1L5JPM |
MG13-D33P150B1X5JPM |
| ひょう量×最小表示 |
150kg×10g |
|
| 内蔵計量分解能 |
1:15,000 |
|
| 直線性/繰り返し性 |
±2d |
|
| 表示部 |
ABS樹脂 |
|
| マウント |
ハンドル付き304ステンレス鋼フロントマウントブラケット |
| 計量部 |
ステンレス製計量皿、塗装鋳鉄フレーム、
シリコンコーティングさらたアルミ製ロードセル |
| 許容過負荷 |
ひょう量の150% |
| 安定時間 |
1秒以内 |
| 動作温度範囲 |
-10℃ to 40℃ |
本体寸法
(A×B×C×D×E×F) |
550×420×134×80×132.9×842 |
650×500×150×90×133×941 |
| 梱包寸法 |
1022×687×247 |
| 本体重量 |
16.1kg |
26.2kg |
| 梱包重量 |
20.1kg |
29.7kg |
| 品番 |
MG13-D33P300B1X5JPM |
| ひょう量×最小表示 |
300kg×20g |
| 内蔵計量分解能 |
1:15,000 |
| 直線性/繰り返し性 |
±2d |
| 表示部 |
ABS樹脂 |
| マウント |
ハンドル付き304ステンレス鋼フロントマウントブラケット |
| 計量部 |
ステンレス製計量皿、塗装鋳鉄フレーム、
シリコンコーティングさらたアルミ製ロードセル |
| 許容過負荷 |
ひょう量の150% |
| 安定時間 |
1秒以内 |
| 動作温度範囲 |
-10℃ to 40℃ |
本体寸法
(A×B×C×D×E×F) |
650×500×150×90×133×941 |
| 梱包寸法 |
1022×687×247 |
| 本体重量 |
26.2kg |
| 梱包重量 |
29.7kg |
■表示部
| 構成 |
ABS 樹脂、塗装鋼製取り付けブラケット |
| 保護等級 |
ダストカバー装着時 IP54 |
| 計量単位 |
kg, g |
| 計量モード |
重量、個数計量、チェック計量、合計 |
| 表示 |
マルチカラーバックライト付き 6桁 7セグメント
LCDディスプレイ、文字サイズ45 mm |
| チェック表示 |
3色(赤、緑、黄)バックライト |
| キーボード |
4つのファンクションキー |
| オートゼロトラッキング |
Off, 0.5 d, 1 d or 3 d |
| ゼロ調整範囲 |
ひょう量の2%または100% |
| 通信 |
RS232標準装備、(オプション)USB、(オプション)イーサネット |
| 電源 |
100-240 VAC、50/60 Hzユニバーサル電源( 標準付属)、
単2乾電池6本で360時間稼働 |
| 構成 |
ゼロ、スパン、直線性3点 |
■アクセサリー
| 品番 |
品名 |
| MG13-DT33PM |
デジタル台秤用表示部 |
| MG13P-045641M |
プリンタSF40A |
| MG13P-0500525M |
RS232 ケーブル(標準タイプ対応) |
| MG13P-372146M |
車輪キット(標準タイプ用 |
| MG13P-429666M |
イーサーネットキット |
| MG13P-616409M |
車輪キット, ステンレス製(防水タイプ用) |
| MG13P-696600M |
キャリング・ハンドル(フロントマウント用) |
| MG13P-699120M |
USB デバイスキット |
| MG13P-699121M |
ダストカバー(5枚入) |
| 品番 |
品名 |
| MG13P-696595M |
コラムキット, 330mm(防水タイプ対応) |
| MG13P-696596M |
コラムキット, 680mm(防水タイプ対応) |
| MG13P-696597M |
コラムキット, 330mm(標準タイプ対応) |
| MG13P-696598M |
コラムキット, 680mm(標準タイプ対応) |
| MG13P-696599M |
コラムキット, 980mm(標準タイプ対応) |
|