個数台はかり

個数秤

業務機器&資材 シロ産業 HOME
新製品情報 在庫処分情報 会社概要
見積依頼 ご注文フォーム お問い合わせ
業務用機材商社一筋で、創業41年。東大阪市商工会議所会員、2005年度IT百選企業。
国公立大学、研究所、自衛隊、警察庁 など主な国公立機関に納入実績多数。医療機器販売業免許取得済

包装資材 包装機械 物流機器 測定機器 洗剤 ケミカル 蛍光灯 季節品-夏 季節品-冬 弱電工具 ホイスト 環境機器 掃除機 ムーブテック 切削工具 機械工具調理厨房機器 研究室用品 安全防犯防災品 エクステリア 新商品 在庫処分


カテゴリー第二分類(測定機器)
測定機器カテゴリー一覧を見る
温度計温湿度計湿度トランスミッター無線温度計無線温湿度計記録温湿度計紙記録温湿度計放射温度計放射温度センサー温湿度監視計器おんどとりデーターロガー防水・防滴温度データロガー耐熱データロガー低温用データロガー超低温用データロガー無線温湿度ロガー圧力データロガーガス濃度データロガー気象計器風速計ハンディ風速計設置型/据置型風速計露点計雨量計気圧計気流可視化装置重量秤防水秤台秤吊秤トラックスケール台車秤ハンドパレットスケール電子天秤検定付重量秤防爆重量秤個数秤農産物選別秤比重計厚さ計膜厚計デジタル距離計レーザーマーカー墨出機トルクゲージノギスマイクロメータシックネスゲージ騒音計照度計色計 光沢計/輝度計 色差計/色彩色差計白色度計紫外線測定器PH水質計水分計濁度計電気伝導率計/導電率計/EC計溶存酸素計(DO計)振動計衝撃計ガス測定器酸素濃度計二酸化炭素濃度計ホルムアルデヒド測定器オゾンガス濃度計ガス漏れ検知器環境測定器ニオイ臭気測定器金属探知器金属検出機食品用金属探知器検針機電気測定器電磁力計ガウスメーター/テスラメーター電磁波 電位計静電気測定器角度計水準器回転計スコヤ圧力計流量計プッシュプルゲージロードセルテンションメーター光学機器拡大鏡顕微鏡ファイバースコープカウンター表示器表示板/表示モニター/表示パネル糖度計屈折計濃度計塩分計酸度計アルコール濃度計健康管理熱中症計枚数計数機器粘度計粉塵計硬度計粗さ計液面計・水面計その他計測器中古測定機器

関連商品一覧


個数台はかり/ 品番 MC52UX3-16KS 【詳細表示】
商品番号 MC52UX3-16KS 価 格
個数台はかりMC52UX3-16KS ●重量物計数用の頑丈モデルながら高精度計数
●ストレインゲージ式センサ搭載の高精度計数(MC52UX3シリーズ)
●音叉式力センサ搭載の精密測定(MC52UX4シリーズ)
個数台はかり
品番 MC52UX3-16KS
廃番
■機能
○・・・標準装備
▲・・・オプション
品番 MC52UX3シリーズ MC52UX4シリーズ
画像
音叉式  
ストレインゲージ式  
液晶画面
蛍光表示
(個数)

(個数)
液晶バックライト表示    
表示ホールド機能    
リミット(コンパレータ)機能
加算累計機能
バーブラフ表示
校正分銅内蔵    
個数モード
%モード    
カラットモード    
匁モード    
単重モード    
係数モード    
比重モード    
動物測定モード    
統計演算モード    
RS-232C出力
プリンタ出力
バッテリー駆動  
IP規格(防水・防塵)    
取引照明用(特定計量器)    


■外寸図
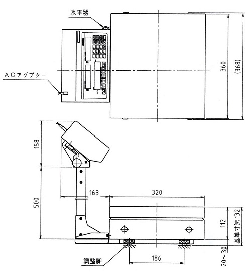
▼MC52UX3-16KS、MC52UX3-30KS、MC52UX3-60KS


▼MC52UX3-150KS


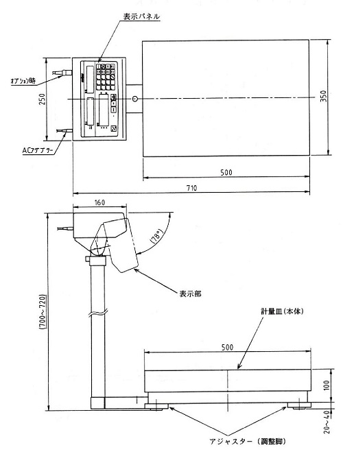
▼MC52UX4-16KS、MC52UX4-30KS

■仕様
型式 MC52UX3-16KS MC52UX3-30KS MC52UX3-60KS MC52UX3-150KS
ひょう量(Max) 16kg 30kg 60kg 150kg
計数可能単重 0.16g 0.3g 0.6g 1.5g
重量最小表示 0.002kg 0.005kg 0.01kg 0.02kg
計量皿寸法 W330×D310mm W350×D500mm
外形寸法
(W×D×H)
330×520×390mm 350×710×700mm
風袋引き範囲 全ひょう量
最大個数表示 100,000個
スパン調整 外部校正分銅による手動スパン調整
過負荷時表示 ひょう量+9目盛り超過時「o-Err」表示
温湿度範囲 0~40℃、80%rh以下(但し結露のないこと)
電源 専用ACアダプター(付属)
価格 廃番 廃番 廃番 廃番



型式 MC52UX4-16KS MC52UX4-30KS
ひょう量(Max) 16kg 30kg
計数可能単重 0.05g 0.1g
重量最小表示 0.5g 1g
計量皿寸法 W360×D320mm
外形寸法
(W×D×H)
360×483×680mm
風袋引き範囲 全ひょう量
最大個数表示 600,000個
スパン調整 外部校正分銅による手動スパン調整
過負荷時表示 ひょう量+9目盛り超過時「o-Err」表示
温湿度範囲 0~40℃、80%rh以下(但し結露のないこと)
電源 専用ACアダプター(付属)
価格 廃番 廃番

運賃、および消費税は、記載価格には、含まれていません。

[トップページに戻る] [注文書] [見積り依頼] TEL 0729-64-8663 FAX 0729-61-4874

営業時間 AM9:00~PM7:00 営業日 月曜日~金曜日 定休日 土曜日 日曜日 祝日