GPS付振動温湿度緯度経度高度データーロガー(輸送振動)

振動計

業務機器&資材 シロ産業 HOME
新製品情報 在庫処分情報 会社概要
見積依頼 ご注文フォーム お問い合わせ
業務用機材商社一筋で、創業41年。東大阪市商工会議所会員、2005年度IT百選企業。
国公立大学、研究所、自衛隊、警察庁 など主な国公立機関に納入実績多数。医療機器販売業免許取得済

包装資材 包装機械 物流機器 測定機器 洗剤 ケミカル 蛍光灯 季節品-夏 季節品-冬 弱電工具 ホイスト 環境機器 掃除機 ムーブテック 切削工具 機械工具調理厨房機器 研究室用品 安全防犯防災品 エクステリア 新商品 在庫処分


カテゴリー第二分類(測定機器)
測定機器カテゴリー一覧を見る
温度計温湿度計湿度トランスミッター無線温度計無線温湿度計記録温湿度計紙記録温湿度計放射温度計放射温度センサー温湿度監視計器おんどとりデーターロガー防水・防滴温度データロガー耐熱データロガー低温用データロガー超低温用データロガー無線温湿度ロガー圧力データロガーガス濃度データロガー気象計器風速計ハンディ風速計設置型/据置型風速計露点計雨量計気圧計気流可視化装置重量秤防水秤台秤吊秤トラックスケール台車秤ハンドパレットスケール電子天秤検定付重量秤防爆重量秤個数秤農産物選別秤比重計厚さ計膜厚計デジタル距離計レーザーマーカー墨出機トルクゲージノギスマイクロメータシックネスゲージ騒音計照度計色計 光沢計/輝度計 色差計/色彩色差計白色度計紫外線測定器PH水質計水分計濁度計電気伝導率計/導電率計/EC計溶存酸素計(DO計)振動計衝撃計ガス測定器酸素濃度計二酸化炭素濃度計ホルムアルデヒド測定器オゾンガス濃度計ガス漏れ検知器環境測定器ニオイ臭気測定器金属探知器金属検出機食品用金属探知器検針機電気測定器電磁力計ガウスメーター/テスラメーター電磁波 電位計静電気測定器角度計水準器回転計スコヤ圧力計流量計プッシュプルゲージロードセルテンションメーター光学機器拡大鏡顕微鏡ファイバースコープカウンター表示器表示板/表示モニター/表示パネル糖度計屈折計濃度計塩分計酸度計アルコール濃度計健康管理熱中症計枚数計数機器粘度計粉塵計硬度計粗さ計液面計・水面計その他計測器中古測定機器

関連商品一覧

GPS付振動温湿度緯度経度高度データーロガー(輸送振動)/品番 MC7R-GP20A 【詳細表示】
商品番号 MC7R-GP20A 価 格
GPS付振動温湿度緯度経度高度データーロガー(輸送振動)MC7R-GP20A 加速度、温湿度、緯度経度、高度のデータを記録し輸送中の荷物がどのように扱われているかが把握できます。 GPS付振動温湿度緯度経度高度データーロガー(輸送振動)
品番 MC7R-GP20A
廃番
■概要
超小型3軸加速度センサと温湿度センサ、GPSモジュールを搭載し単3アルカリ電池2本で加速度、温湿度、緯度経度、高度のデータを時間経過と共にスタンドアロン(独立)で、約1週間(1msecサンプリング)のデータを記録することができます。
記録されたデータは内臓のUSBポートから簡単にパソコンに取り込め標準添付ソフトウェアで即座にグラフ表示ができます。
さらに付属のGPSアンテナを接続すれば輸送経路を記録(GPSモジュールの測位条件により異なる)し加速度と共に輸送経路の位置情報が地図上(日本国内のみ)に表示されます。


■主な特徴
●本体には3軸(X,Y,Z)の加速度センサを搭載している
●加速度センサのレンジ切り替えができる(MC7R-GP100Aを除く)
●重力加速度の変更ができる(MC7R-GP100Aを除く)
●温湿度センサを搭載しているので温度、湿度も記録できる
●GPSモジュールとGPSアンテナを搭載している
●USB(type C)インターフェースを搭載している
●標準ソフトウェアでグラフ表示と地図表示ができる


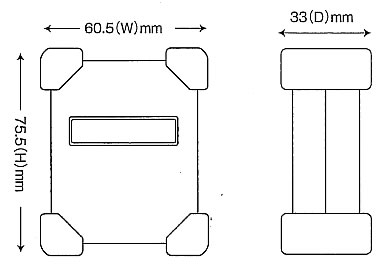
■外計寸法図



■仕様
品番 MC7R-GP20A MC7R-GP100A
測定項目 3軸加速度・温湿度・緯度経度・高度 3軸加速度・温湿度・緯度経度・高度
加速度センサ 10G(精度±10%) 20G(精度±10%) 100G(精度±10%)
測定分解能 0.1G 0.2G 1G
応答周波数 0Hz~100Hz 0Hz~100Hz
最小サンプリング周期 1msec / 2msec
温度範囲 0~50℃(±3℃)
湿度範囲 30~90%RH
記録間隔 30秒・1分・2・3・4・5・10・20・30分
(GPS OFF時1・5・15・20秒設定可能)
動作表示 液晶表示
記録容量 130,000データ
(1データ:日時・X軸・Y軸・Z軸・温度・湿度・緯度・経度・高度)
記録保持 不揮発性メモリ
通信方式 USB(type C) 2.0準拠
電源 単3アルカリ乾電池(LR6)×2本
電池寿命 GPS ON時:約2週間(1・2msecサンプリング)GPS OFF時:約40日間
外部電源使用時 MC7PU-UT2S使用時:約30日間
MC7PU-UT1S使用時:約60日間
使用温湿度範囲 0~50℃ 70%RH以下(結露無きこと)
放射妨害ノイズ RTCA DO160G Section21 CategoryH
外形寸法 75.5(H)×60.5(W)×33(D)mm
質量 約240g(電池+GPSアンテナを含む)
付属品 GPSアンテナ(ケーブル長5m)、USBケーブル、
単3アルカリ乾電池(2本)、注意シール(1枚)
取付板金具(2枚)、マニュアル、専用ソフトウェア(CD-ROM)、マグネット



■ソフトウェア仕様 (専用ソフトウェア)
対応機種 MC7R-GP20A/MC7R-GP100A
対応OS Windows10 (32/64bit)、Windows7 (32/64bit)日本語
チャンネル数 X軸、Y軸、温度、湿度、緯度、経度、高度
通信機能 設定条件、データ読み取り、開始条件、地図表示(日本国内のみ)
データ保存 GTR(専用拡張子)形式、CSV形式
画面表示 各条件設定画面、グラフ、データ一覧、地図(日本国内のみ)



■オプション
●外部電源ユニット
外部電源ユニットを使うことにより長時間の動作が保てます。
 
品番 MC7PU-UT1S MC7PU-UT2S
電源 単1アルカリ乾電池 単2アルカリ乾電池
連続動作時間 サンプリング周期10msecで10ヶ月 サンプリング周期10msecで4ヶ月
外形寸法(H×W×D) 50×81×111mm
(固定金具部分を除く)
質量 680g(電池含む) 560g(電池含む)
付属品 固定金具、電池蓋、外部電源ケーブル、アルカリ乾電池×2本
※測定条件により異なる

運賃、および消費税は、記載価格には、含まれていません。

[トップページに戻る] [注文書] [見積り依頼] TEL 0729-64-8663 FAX 0729-61-4874

営業時間 AM9:00~PM7:00 営業日 月曜日~金曜日 定休日 土曜日 日曜日 祝日